固定电话:

0517-86881563

手机热线:

153-1230-7860

当前位置:首页 >> 新闻动态
一种电磁流量计转换器的链接结构
技术领域
本实用新型涉及一种电磁流量计,尤其是指一种电磁流量计转换器的链接结构。
 
背景技术
目前,电磁流量计转换器的链接结构较为单一,电磁流量计转化器与电磁流量计本体固定连接后,再取出就较为困难,在实际电磁流量计使用过程中,一旦电磁流量计转化器发生故障,检修工作较为困难中国**公开号CN202533113U,公开日2012年11月14日,名称为“一种隔爆型电磁流量计转换器”的实用新型**中公开了一种隔爆型电磁流量计转换器,转换器机箱和转换器安装底板,转换器安装底板固定于转换器机箱的底部,安全电路、供电电源电路、安全电路端子、供电电源端子全部安装在转换器安装底板上,所述转换器机箱上设有转换器隔爆面。不足之处在于,该电池流量计的转换器拆卸仍然较为困难。
 
实用新型內容
本实用新型的目的是克服现有技术中电磁流量计本体和电池流量计转换器链接方式较为固定,电池流量计转换器拆卸较为困难的缺点,提供一种电磁流量计转换器的链接结构,通过该链接结构可以使电池流量计转换器方便的拆卸。
本实用新型的目的是通过下述技术方案予以实现
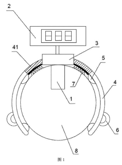
一种电磁流量计转换器的链接结构,包括电磁流量计本体和电磁流量计转换器,电磁流量计本体和电磁流量计转换器之间设有连接基座,连接基座两侧向外延伸分别设有与流体管卡接的卡爪,卡爪为弹性件。当电池流量计转换器需要拆卸时,因为卡爪为弹性件,相关操作人员稍稍用力即可向外掰开卡爪,并通过旋转卡爪,使电池流量计转换器方便的拆卸脱离连接基座。
作为一种优选方案,卡爪采用金属材料制成,卡爪靠近基座部分为弹性层。金属材料的作用为对磁场进行屏蔽,使电磁流量计收到的干扰减少。弹性层完成卡爪脱离或卡紧流体管的功能。
作为一种优选方案,卡爪面向流体管一侧设有若干个凸点,凸点采用橡胶材料制凸点与流体管接触,增加了摩擦性,使卡爪能更好的与流体管卡紧。
作为一种优选方案,卡爪背离流体管一侧设有把手。把手方便相关操作人员对卡爪进行旋转操作。
作为一种优选方案,卡爪和流体管之间靠近基座处设有限位弹簧。限位弹簧方便相关操作人员对卡爪掰到适合旋转的位置或适合卡紧的位置。
本实用新型的有益效果是,电磁流量计转换器的链接结构能使电池流量计转换器方便的与电池流量计本体进行拆卸或固定,方便了检修工作。且本实用新型结构简单,实用性强,易于实现。
 
附图说明
图1是本实用新型的一种剖面结构示意图。
云顶集团3118acm官网
其中:1、电磁流量计本体,2、电磁流量计转换器,3、链接基座,4、卡爪,5、凸点,6、把手,7、限位弹簧,8、流体管,41、弹性层
 
具体实施方式
下面结合附图和实施例对本实用新型进一步描述
实施例:一种电磁流量计转换器的链接结构,其结构示意图如图1所示,包括电磁流量计本体1和电磁流量计转换器2,电磁流量计本体和电磁流量计转换器之间设有连接基座3,连接基座两侧向外延伸分别设有与流体管8卡接的卡爪4,卡爪为弹性件。卡爪采用金属材料制成,卡爪靠近基座部分为弹性层41。卡爪面向流体管一侧设有若干个凸点5,凸点采用橡胶材料制成。卡爪背离流体管一侧设有把手6。卡爪和流体管之间靠近基座处设有限位弹簧7。当电池流量计转换器需要拆卸时,因为卡爪为弹性件,相关操作人员稍稍用力即可向外掰开卡爪,并通过抓住把手旋转卡爪,使电池流量计转换器方便的拆卸脱离连接基座。
 

上一条:电磁流量计在大口径管路液体流量测量中的特点
下一条:电磁流量计测井技术探讨


客户服务热线
15312307860

联系我们