固定电话:

0517-86881563

手机热线:

153-1230-7860

当前位置:首页 >> 新闻动态
一种电磁流量计的脱蜡装置结构
技术领域
本发明涉及一种电磁流量计脱蜡装置,特别涉及一种电磁流量计的脱蜡装置。
 
背景技术
现有的基于法拉第电磁感应定律设计的电磁流量计虽然能测量导电流体的流量,但在测量油田井口采出的含蜡原油流量时,由于当温度低于45℃石蜡就会粘覆在电磁流量计的计量导管内壁上,使计量导管腔颈截面面积变小,造成含蜡原油流体在电磁流量计的计量导管内的流速变快,产生计量误差,同时,含蜡原油流体在流经电磁流量计测量电极时也会在电极上产生石蜡涂覆层,导致电极接收不到含蜡原油流体流暈产生的感应电压信号,造成电磁流量计无法正常工作。为了克服上述缺陷,目前有**提出了带有脱蜡装置的电磁流量计,虽然采用了导热循环泵,克服了石蜡覆层的问题,但若导热循环泵产生电火花,则易导致安全事故,存在安全隐患。
 
发明内容
本发明的目的是提供一种电磁流量计的脱蜡装置,解决了利用导热循环泵使导热介质流动而带来的安全隐患问题,其结构简单、安装方便、安全性好。
本发明所采用的技术方案是:一种电磁流量计的脱蜡装置,包括壳体以及设置在壳体内的电磁流量计,所述的壳体是由带有开口的箱体、**介质通道、吸热器、第二介质通道组成,箱体的内壁与**介质通道内壁、吸热器内壁、第二介质通道内壁连接在一起组成存储循环流动的导热介质的腔体,在箱体的开口处插接有用于给导热介质加热的PTC陶瓷加热器,PTC陶瓷加热器经防爆接线座连接电缆,紧固件使防爆接线座固定在PTC陶瓷加热器下端:带有测量导管和电极的电磁流量计设置在吸热器内。
作为本发明的一种优选方案,所述的紧固件为锁紧帽,锁紧帽与防爆接线座螺纹连接。
作为本发明的另一种优选方案,所述的PTC陶瓷加热器的加热温度控制在80~100℃。
作为本发明的再一种优选方案,所述的电磁流量计的脱蜡装置通过法兰固定在管道内。
作为本发明的又一种优选方案,所述的导热介质被PTC陶瓷加热器加热后,使位于PTC陶瓷加热器附近的导热介质温度升高,这部分温度升高的导热介质与位于箱体上部的未被加热的导热介质发生热交换,位于箱体出口的导热介质向上流动,经**介质通道进入吸热器,使吸热器的外壁及设置在吸热器内的测量导管外壁和电极的温度也升高,经过热传递后,吸热器内的导热介质温度降低,而位于第二介质通道内的导热介质被PTC陶瓷加热器加热后,温度升高,与吸热器内的导热介质形成温差,使得位于吸热器内的导热介质向第二介质通道流动。
本发明具有的优点及积极效果是:该电磁流量计的脱蜡装置,该装置的箱体的内壁与**介质通道内壁、吸热器内壁、第二介质通道内壁连接在一起形成存储循环流动的导热介质的腔体,在箱体的开口处插接有用于给导热介质加热的PTC陶瓷加热器,该装置利用高温导热介质做热源加热电磁流量计的测量导管,使工作在测量状态的测量导管内壁及电极极掌面保持45℃以上温度,当低温含蜡石油与水混合物流体流过电磁流量计的测量导管时与测量导管内壁及电极极掌面间形成加热过程,使低温含蜡原油流体粘覆在测量导管内壁上的及测量电极极掌面上的石蜡涂覆层升温脱离,保持电磁流量计测量导管内壁及电极极掌面具有可靠的工作状态。
附图说明
下面结合附图对本发明的实施方式作进一步详细的说明
云顶集团3118acm官网
图1为本发明电磁流量计的脱蜡装置结构示意图
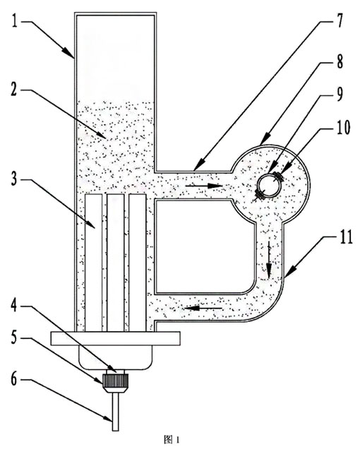
图中序号说明:1箱体、2导热介质、3PTC陶瓷加热器、4防爆接线座、5锁紧帽、6电缆、7**介质通道、8吸热器、9测量导管、10电极、11第二介质通道。
 
具体实施方式
下面结合图1对本发明的结构做进一步描述。
本实施例的电磁流量计的脱蜡装置,其结构如图1所示。包括壳体以及设置在壳体内的电磁流量计。壳体是由带有开口的箱体1、**介质通道7、吸热器8、第二介质通道11组成,箱体1的内壁与**介质通道7内壁、吸热器8内壁、第二介质通道11内壁连接在起形成存储循环流动的导热介质2的腔体,在箱体1的开口处插接有用于给导热介质加热的PTC陶瓷加热器3,在陶瓷加热器3与箱体1的开出处进行密封,防止导热介质泄露在保证位于脱蜡装置内的导热介质2不含水的情況下,本实施例中脱蜡装置内的导热介质2可以是与管道内流动的流体相同,也可以不同。本实施例中的导热介质应满足:导热介质的凝固点低于水的凝固点,如可以采用乙二胺或汽车防冻液或油等流体作为导热介质,本实施例仅以此为例加以说明,用户可根据需要自行选择。
PTC陶瓷加热器3经防爆接线座4连接电缆6,PTC陶瓷加热器3的输入端连接到防爆接线座4的输出端,防爆接线座4的输入端连接电缆6。紧固件使防爆接线座4固定在PTC陶瓷加热器3下端,本实施例中采用锁紧帽5作为紧固件,锁紧帽5与防爆接线座4螺纹连接。带有测量导管9和电极10的电磁流量计设置在吸热器8内。PTC陶瓷加热器3的加热温度控制在80~100℃。
本实施例中电磁流量计的脱蜡过程为:
电磁流量计的脱蜡装置通过法兰固定在管道内。含蜡石油与水的混合物流过上述管道,PTC陶瓷加热器3通电后释放热能,使位于PTC陶瓷加热器3附近的导热介质2温度升高,这部分温度升高的导热介质2与位于箱体1上部的未被加热的导热介质2发生热交换,位于箱体1出口的导热介质2向上流动,经**介质通道7进入吸热器8,使吸热器8的外壁温度升高在45℃左右,使粘附在吸热器8外壁的石蜡涂覆层脱离。同时设置在吸热器8内的测量导管9外壁和电极10的温度也随之升高,使得位于导管9内壁及电极10极掌面的温度也被加热到45℃左右,使粘附在导管9内壁及电极10的石蜡涂覆层脱离。经过热传递后,吸热器8内的导热介质温度降低。而位于第二介质通道11内的导热介质被PTC陶瓷加热器3加热后,温度升高,与吸热器8内的导热介质形成温差,使得位于吸热器8内的导热介质向第二介质通道11流动。如此反复。这种导热介质的“微循环流动”采用了流体动力学的原理,替代了利用导热循环泵使导热介质循环运动的现有技术。由于整个系统不必通过导热循环泵来进行,节约了成本,同时还使得结构更为简单、保证了整个装置的安全性和稳定性。
 


上一条:涡街式压缩空气流量计的相关知识
下一条:用二次仪表提高涡街流量计在过热蒸汽计量中的


客户服务热线
15312307860

联系我们