云顶集团3118acm官网(中国)有限公司
固定电话:
0517-86881563
手机热线:
153-1230-7860
首页
关于我们
产品博览
新闻动态
典型案例
行业新闻
联系我们
当前位置:
首页
>>
新闻动态
流量仪表系列
电磁流量计
涡街流量计
涡轮流量计
超声波流量计
孔板流量计
转子流量计
质量流量计
旋进旋涡流量计
巴类流量计
液体流量计
油流量计
酸流量计
气体流量计
其它流量计
物位仪表系列
压力变送器
差压变送器
液位变送器
温度变送器
变送器仪表系列
压力变送器
差压变送器
液位变送器
温度变送器
高压电磁流量计电极结垢的解决方案
在测量污水、浆液等介质时,电磁流量计的衬里内壁以及电极表面容易产生结垢现象,由于结垢部分的电导率与测量介质不一致,产生结垢后,如果不及时清理,轻则给电磁流量计的测量带来误差,重则导致电磁流量计的信号短路或断路,导致仪表无法正常工作。对于易结垢场合使用的电磁流量计,目前普遍采用刮刀式电极的方法解决,然而刮刀式电极也有其明显的缺点一对安装环境要求较高、需要定期维护、不能用于高压管道等。本文通过对测量导管的结构以及测量电极的形状做改进设计,极大地延长了在高压等极端场合条件下电磁流量计的无维护使用寿命。使此类极端工况的流量测量得到较为理想的解决。
本次研究涉及到流量测量技术相关领域,包括有电磁流量计以及电极的阻垢结构,该结构中的电极主要是与流体介质之间进行接触的安装部分以及液体接触部分,而在液体的接触部位轴线位置处,其中心位置具有同轴设置的凸起部分,此凸起部分为导电体,本次所设计的电磁流量计其电极表面具有不易结垢以及无需经常进行清洗的特点。
1.传统
电磁流量计
的清理方式
电磁流量计的工作原理决定了电磁流量计工作时测量电极必须能完成测量介质的电动势检测若测量的介质容易结垢,当测量电极完全被结垢覆盖时,如果结垢部分是绝缘体,电磁流量计电极将无法检测到感应信号,如果结垢部分导电率过高感应信号将被结垢层短路。
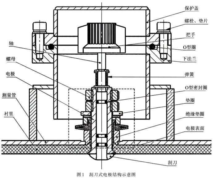
为了解决电磁流量计介质结垢的问题,目前传统做法都是采用刮刀式机械清理的方法来解决刮刀式电极的结构示意图如图1。
从刮刀式电极的结构示意图可以看出,副刀式电极的轴是通过“O”型圏轴密封的方式密封的。通过人工旋转轴的方式带动刮刀,实现电极表面结垢
的清理。
采用刮刀式电极清理结垢的方法,缺点主要有如下几点:
(1)需要取下仪表外壳上的密封盖才能操作这就要求仪表必须安装在干燥且清洁的环境中,不然容易破坏仪表的绝缘。
(2)需要人工定期清理,并且对清理的人员有定的**要求。
(3)由于旋转轴是通过“O”型圈轴密封的方密封的,对于沟槽等密封部分的尺寸及表面光洁度要求较高,另外由于轴密封的限制,注定了刮刀式电极不能用于压力大于10MPa以上的场合。
从以上几点可以明显看出,采用刮刀式电极的方式解决易结垢介质的测量存在很大的局限性。无法满足安装环境较差(埋土、淹水)以及耐压等级高于10Mpa(“O”型圈轴密封限制)的场合的除垢要求。
2.实用新型
电磁流量计
本次所研究的新型电磁流量计,其设计特点是具备较好的电极阻垢结构,之前所使用的传统电磁流量计电极主要安装在测量通道当中,当该结构应用在容易结垢的介质中时,电极可能会被结垢所覆盖,由于介质结构本身具有绝缘性,从而使得电极准以对被测介质的电位进行正常检测,进而使得电磁流量计的仪表也难以正常使用,传统电磁流量计的对电极结垢问题的解決方式为每隔一段时间完成一次仪器的拆卸,采用手动清洗或者是刮刀式电极机械清洗的方式进行解决,但是传统电磁流量计一般都具有易结垢、人工干预较多以及清理周期相对较短的问题。
2.1技术方案
2.1.1改变电极形状
通过改变电磁流量计电极的形状,可使电极表面不易结垢。由于测量液体黏性的存在,流体在一定流速范围内,在管道中的流速成轴对称分布:在沿管轴线方向取一截面,截面内的流速分布是以管轴线为对称轴的抛物线,如图2所示。
由图2所示,很容易得出,越是靠近管道内壁的地方,流体流速越低,而流体流速越低,越是容易产生结垢现象。安装在电磁流量计管道内壁的电极正是贴在管道内壁上,比较容易形成结垢现象。为了解决电极表面容易结垢的问题,现对电极表面的形状做一定的改进,电极改进前后的示意图分别如图3所示。
具有阻垢结构的电极主要包括了和流体介质之间进行接触的安装部分和液体接触部位,在液体接触部位的中心位置具有同一轴线的凸起部,而凸起部为导电体。根据上述的技术方案可以了解到,众质丛起部位流过卮凸起的部位对所流动的介质会进行分割,同时在液体接触部位以及凸起部位的连接处会产生一定的扰动作用,所产生的扰动作用会将液体接触部位表面产生的结垢物带走,使得液体接触部位以及凸起部位不会产生污垢的积聚。由于凸起部位主要是在液体接触部位设置,所以凸起部位与测量通道中的中心位置具有更近的距离而中心位置所受到的通道内壁黏着力的影响相对较小,因此使得其流速相对较快,而凸起部位由于不会被污垢所覆盖,所以采用该技术方案可以减少凸起部位以及液体接触部位的污垢,不需要进行经常清理。上述技术方案中将凸起部外壁改为圆滑曲面,使得污垢不易在其表面进行附着,在介质流动冲击下更容易被带走。
2.1.2测量管道缩颈处理
当介质流体从变径段之外经过变径段进入测量通道时,由于变径段为朝向测量通道的收口结构,测量通道的内径小于变径段之外的管道内径使得介质流体在测量通道中的流速增快,在此条件下,位于测量通道内的液体接触部位和凸起部表面更不容易结垢。
通过采用上述技术方案,该电磁流量计具有较好的电极阻垢效果,无需经常清理电极液体接触部和凸起部的污垢,减少人工干预,提高了经济效益。
2.2实例说明
根据上述的技术方案,可以就其凸起部位或者其他部位进行进一步的配置,以便于减少电磁流量计的结垢能力,其进一步的配置方式包括有凸起部的外壁是较为圆滑的曲面,起部的截为圆形,凸起部外径由液体接触部位向其远离的一侧逐渐变小,远离凸起部的一端为球面,采用上述设置都可以有效降低电磁流量计的结垢能力,例如液体接触部位采用球面结构时,由于凸起部位主要设置在液体接触部位的中心位置处,因此在对介质流体进行测量时,流体沿着液体接触部位表面进行流动,势必会对凸起部位的底部产生一定的冲击作用,在这种情况下,污垢不易积累,从而出现较为良好的阻止结垢的效果。在合理采用上述技术方案,同时采取进一步的配置方式后,使得新型电磁流量计具备较好的电极阻垢效果,有效提高了仪器的经济效益,下文结合新型电磁流量计中的电极阻垢结构实例进行分析。
在本次实例当中,图4和图5中的13所表示的凸起部位其外壁为圆滑的曲面,整体的横截面基本为圆形,在该实例中所采用的进一步配置为凸起部位的外径由液体接触部位向远离液体接触部位的侧逐渐变小,同时在凸起部位上与液体接触部位远离的位置为球面。
如图6所示,测量管道的前端、后端与变径段相连接,变径段的内径由测量管道向通道的两侧开始逐渐变大,測量管道的内径基本为变径前内径的70%。上述3个图中各序列号所表示的部件名称:1为电极,2为测量通道,11为接液部,12为安装部,13为凸起部,14为球面部,21为变径段。
本次实例的基本原理为,在测量通道前段连接零段此时内部的介质流体在进测量通道后出现流速增大的现象,在介质流体流动到凸起部位时,凸起部位对介质流体之间产生分割作用,同时在液体接触部位和凸起部位的连接位置会产生一定的扰动作用,所产生的扰动可以将附着在液体接触部位表面的结垢物带走,在液体的接触部位以及凸起部位会避免产生污垢的积聚,由于上图中的凸起部13和测量通道的中心位置距离较近,该位置处所受到的摩擦力以及黏着力的影响相对较小,整体的流速较快,从而使得凸起部难以被污垢所覆盖,而上述实例中所进行的优化配置,主要包括凸起部位与液体接触部位远离位置为球面,凸起部位的外壁为圆滑曲面,以及外径从液体接触部位开始逐渐变小,而变径端的内径向远离测量通道的方向逐渐增大。
3.结论
通过采用上述几种优化配置方式,可以实现当介质流体从变径段外侧进入测量通道后,由于变径段向测量通道的方向整体为收口形势,通道中的内径明显小于变径段外的内径值,这在一定程度上加快了测量通道中介质流体的流速,从而使得凸起部表面以及测量通道内更难以形成结垢,不需要经常进行清洗。
上一条:
电磁流量计应用故障排除实例
下一条:
浅谈涡轮流量计在天然气流量计量中的应用
客户服务热线
15312307860
联系我们