固定电话:

0517-86881563

手机热线:

153-1230-7860

当前位置:首页 >> 新闻动态
一种电磁流量计传感器接线盒结构特点
技术领域
本实用新型涉及一种电磁流量计传感器接线盒,尤其涉及一种分体式电磁流量计传感器接线盒,属于测量设备技术领域。
 
背景技术
现有的分体式电磁流量计传感器接线盒大多采用**进线,接线时需要将接线盒整体拆下才可以接线,使用过程中由于操作人员技术问题往往会造成接线盒与传感器、进线口密封不良,防水性能下降,并引起接线端子部位绝缘下降,设备无法正常测量。
 
实用新型内容
本实用新型所要解决的技术问题是,克服现有技术的缺点,提供一种结构简单、密封性良好、适用性强、方便安装、拆卸的分体式电磁流量计传感器接线盒。为了解决以上技术问题,本实用新型提供一种分体式电磁流量计传感器接线盒,包括壳体和分体盖,壳体上端连接分体盖,还包括端子排,端子排的两端设有螺孔,与螺孔配合设有螺钉,端子排通过螺钉穿过螺孔固定在壳体的安装座上,端子排与壳体安装座的连接处设有安装座密封圈,壳体的侧面设有螺纹孔,与螺纹孔配合装有格兰头,格兰头上设有进线孔,电缆线穿过进线孔连接端子排。这样,保证电缆与管道轴线方向一致,不会造成外部的液体流入壳体内。
本实用新型进一步限定的技术方案是:
优选地,安装座密封圈采用“0”型密封圈。使设各的密封效果更好。
优选地,分体盖通过“0”型密封圈与売体密封连接。
优选地,壳体采用圆筒形结构,売体的下端通过螺钉固定在流量传感器上端。适用于各种传感器,并且安装方便,拆卸简易。
优选地,壳体与流量传感器的连接处设有橡胶密封垫密封连接。
本实用新型的有益效果是:本实用新型结构简单、密封性好、适用性强且便于安装拆卸,使用时电缆与管道轴线方向一致,从而不会造成外部的液体流入壳体内。
 
附图说明
图1为本实用新型结构的主视图。
云顶集团3118acm官网
图2为本实用新型结构的左视图。
云顶集团3118acm官网
图3为本实用新型的内部结构示意图。
云顶集团3118acm官网
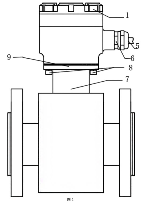
图4为本实用新型使用结构图。
云顶集团3118acm官网
 
具体实施方式
实施例1
本实施例提供的一种分体式电磁流量计传感器接线盒,如图1、图2和图3所示,包括壳体3和分体盖1,还包括端子排7,売体3上端连接分体盖1,端子排7的两端设有螺孔,与螺孔配合设有螺钉,端子排7通过螺钉穿过螺孔固定在売体3的安装座上,壳体3的侧面设有螺纹孔4,与螺纹孔4配合装有格兰头6,格兰头上设有进线孔,电缆线5穿过进线孔连接端子排7。
安装座密封圈2采用“0”型密封圈分体盖1通过“0”型密封圏与売体3密封连接,分体盖1的上端设有不规则的凹槽,便于拆卸。
壳体3采用圆筒形结构,売体3的下端通过螺钉固定在流量传感器上端。
壳体3与流量传感器的连接处设有橡胶密封垫密封连接。
本实施例如图4所示,分体接线盒用4只M6的螺钉8将壳体3与固定在流量传感器7上端,売体3与传感器7之间采用橡胶密封垫9密封。端子排7用两个M4的螺钉固定在壳体内,接线端子通过连接电缆5,穿过安装在売体上的格兰头6连接到变送器。分体盖1通过螺纹拧紧在壳体3的上端,分体盖1与壳体3的密封采用0型圏密封。使用时电缆与管道轴线方向一致,管道为垂直方向时,电缆出线方向朝下,从而不会造成外部的液体流入壳内。
本实用新型的优点在于,结构简单、密封性好、适用性强且便于安装拆卸。
 

上一条:电磁流量计对供水企业的作用
下一条:怎样清洗电磁流量计的电极


客户服务热线
15312307860

联系我们