技术领域
本实用新型涉及机械行业中的一种流量测量计,尤其是涉及一种测量精确的电磁流量计。
背景技术
电磁流量计是根据法拉第电磁感应定律进行流量测量的流量计。电磁流量计的优点是压损极小,可测流量范围大,在导电液体周围设置磁场,导电液体流动在磁场中切割磁感应线,产生与液体流速呈正比的感应电势,其感应电势信号通过与液体直接接触的信号电极直接测量出,通过线缆传递给转换器,之后进行处理器进行信号处理,实现液体瞬时流量、累积流量的显示以及流量数据与电脑系统之间的通讯控制。目前,经常使用的流量计在满管的情况下,测量非常准确,当液体流量在非满管的情况下,就无法测量出精确的流量值,而目前对于非满管的情况只有少量的流量计可以选用,但是其结构交复杂,不易加工和装配,成本较高。
发明内容
本实用新型所要解决的技术问题是提供一种测量精确的电磁流量计,它能够在非满管的状态下精确测量,并且其结构简单,在加工和装配方面方便快捷,降低其生产成本。
本实用新型解决其技术问题所采取的技术方案是:一种测量精确的电磁流量计,包括测量导管,在测量导管的外部设有励磁线圈,在励磁线圈的外部设有保护外壳,所述的测量导管上设有信号电极,信号电极与信号转换器连接,信号转换器连接智能处理器,所述的测量导管外侧设有一导管,该导管的两个接头分别连接在测量导管径向的zui高点和zui低点并且与测量导管连通,所述的导管内部设有一浮子,所述的浮子以及导管上设有用于测量浮子高度的高度测量器,高度测量器与智能处理器连接。
进一步具体的,所述的导管中间部分与测量导管轴向垂直,导管的两个接头与测量导管的连接处顺着水流方向倾斜。
进一步具体的,所述的倾斜角度为15°或者30°。
进一步具体的,所述的测量导管的内壁上设有绝缘衬里。
本实用新型的有益效果是:采用了上述结构之后,通过信号电极测量出磁场变化之后通过信号转换器将测量的信号送至智能处理器:通过高度测量器测量出浮子的高度将高度信号传递给智能处理器:智能处理器将接收到的磁场变化信号以及高度信号综合处理,得出精确的流量信息值。
附图说明
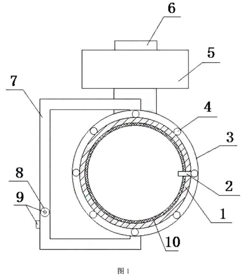
图1是本实用新型的结构示意图。

图中:1、测量导管:2、信号电极:3、保护外壳:4、励磁线圈:5、信号转换器;6、智能处理器;7、导管;8、浮子;9、高度测量器;10、绝缘衬里。
具体实施方式
下面结合附图对本实用新型作详细描述。
如图1所示一种测量精确的电磁流量计,包括测量导管1,在测量导管1的外部设有励磁线圈4,在励磁线圈4的外部设有保护外壳3,所述的测量导管1上设有信号电极2,信号电极2与信号转换器5连接,信号转换器5连接智能处理器6,所述的测量导管1外侧设有一导管7,该导管7的两个接头分别连接在测量导管1径向的zui高点和zui低点并且与测量导管1连通,所述的导管7内部设有一浮子8,所述的浮子8以及导管7上设有用于测量浮子8高度的高度测量器9,高度测量器9与智能处理器6连接:所述的导管7中间部分与测量导管1轴向垂直,导管7的两个接头与测量导管1的连接处顺着水流方向倾斜:所述的倾斜角度为15°或者30°:所述的测量导管1的内壁上设有绝缘衬里10。
首先,励磁线圈4通电使得测量导管1内的空间位于磁场内,导电液体从测量导管1内流过切磁感应线,信号电极2感应到磁感应线的变化将这种变化通过线缆传递给信号转换器5,信号转换器5将收到的信号增强并且转换成统一的标准信号传递给智能处理器6,同时,导电液体也会流入到导管7内,导管7内的液体推动浮子8升起,若导电液体在测量导管1内为非满管,浮子8升起的高度不一,通过高度测量器9测量浮子8的高度,将高度信号传递给智能处理器6,智能处理器6将磁感应线变化信号和高度信号综合处理之后,能够得出真实的流量值,整个结构简单,操作方便。
高度测量器9可以通过在导管7以及浮子8上分别设置信号发射接收器来确定其高度。在放置浮子8的导管7内部有可以防止浮子8进入测量导管1的凸台。
需要强调的是:以上仅是本实用新型的较佳实施例而已,并非对本实用新型作任何形式上的限制,凡是依据本实用新型的技术实质对以上实施例所作的任何简单修改、等同变化与修饰,均仍属于本实用新型技术方案的范围内。
上一条:
浅谈温度对油品计量交接产生的影响
下一条:
质量流量计与涡街流量计优点缺点