固定电话:

0517-86881563

手机热线:

153-1230-7860

当前位置:首页 >> 新闻动态
一种显示型压力变送器结构特点
技术领域
本实用新型属于压力变送器技术领域,具体涉及一种显示型压力变送器
 
背景技术
随着社会的发展,压力变送器也得到了长足的发展,现有技术的压力变送器通常由壳体、电路板、压力传感芯片组成,其主要安装在工业现场,其虽然可以实现压力变送,然而对于在工业现场的巡视人员来说,其压力显示并不直观,存在使用安全隐患。
 
发明内容
本实用新型的目的提供一种结构简单,使用稳定性好且显示较为直观的显示型压力变送器。
实现本实用新型目的的技术方案是一种显示型压力变送器,包括壳体,设置在所述壳体上的连接件、引压接头,在所述壳体内设有传感器芯体和电路板,电路板与所述连接件电连接,传感器芯体与所述引压接头相连接,所述传感器芯体与电路板相连接,在所述壳体上设有插槽,还设有与所述插槽相配合的显示腔插接块,在所述显示腔插接块内设有显示屏,在所述显示腔插接块上设有插接端子,在所述插槽内设有与所述插接端子相配合的插接座,所述插接座分别与电路板和传感器芯体相连接,在所述插槽的内侧壁上设有卡位钩,在所述插槽的底部设有控制所述卡位钩卡位固定所述显示腔插接块的控制弹片,在所述显示腔插接块上设有与所述卡位钩相配合的卡位槽。
 
在所述显示腔插接块上设有参数设定按键,所述参数设定按键设置在所述显示屏的下方。
所述显示腔插接块与所述插槽之间设有密封圈层。
所述显示腔插接块上设有观插窗,所述观察窗与所述显示屏相配合。
本实用新型具有积极的效果:本实用新型的结构简单,在壳体上设有插槽,与插槽相配合的显示腔插接块,在使用中显示较为直观,方便一线巡视人员观察操作,一定程度上提高了使用安全性能,其使用稳定性好,适用性较广,并且其在显示腔插接块上设有参数设定按键,方便现场检修或校正参数,实用性好。
 
附图说明
为了使本实用新型的内容更容易被清楚的理解,下面根据具体实施例并结合附图,对本实用新型作进一步详细的说明,其中:
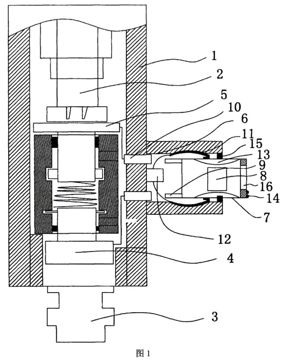
图1为本实用新型的结构示意图。
云顶集团3118acm官网
 
具体实施方式
(实施例1)
图1显示了本实用新型的一种具体实施方式,其中图1为本实用新型的结构示意图。
见图1,一种显示型压力变送器,包括壳体1,设置在所述壳体1上的连接件2、引压接头3,在所述壳体1内设有传感器芯体4和电路板5,电路板5与所述连接件2电连接,传感器芯体4与所述引压接头3相连接,所述传感器芯体4与电路板5相连接,在所述壳体1上设有插槽6,还设有与所述插槽6相配合的显示腔插接块7,在所述显示腔插接块7内设有显示屏8,在所述显示腔插接块7上设有插接端子9,在所述插槽6内设有与所述插接端子9相配合的插接座10,所述插接座10分别与电路板5和传感器芯体4相连接,在所述插槽6的内侧壁上设有卡位钩11,在所述插槽6的底部设有控制所述卡位钩11卡位固定所述显示腔插接块7的控制弹片12,在所述显示腔插接块7上设有与所述卡位钩11相配合的卡位槽13。
在所述显示腔插接块7上设有参数设定按键14,所述参数设定按键14设置在所述显示屏8的下方。
所述显示腔插接块7与所述插槽6之间设有密封圈层15。
所述显示腔插接块7上设有观插窗16,所述观察窗16与所述显示屏8相配合。
显然,本实用新型的上述实施例仅仅是为清楚地说明本实用新型所作的举例,而并非是对本实用新型的实施方式的限定。对于所属领域的普通技术人员来说,在上述说明的基础上还可以做出其它不同形式的变化或变动。这里无需也无法对所有的实施方式予以穷举。而这些属于本实用新型的实质精神所引伸出的显而易见的变化或变动仍属于本实用新型的保护范围。
 

上一条:电磁污水流量计的特点和安装要求
下一条:浅谈天然气流量仪表的选型


客户服务热线
15312307860

联系我们