固定电话:

0517-86881563

手机热线:

153-1230-7860

当前位置:首页 >> 新闻动态
如何提高液位测量的准确度
引言
热控液位测量作为热控自动控制中的重要信号,在电厂的自动控制中,有些液位信号被作为三冲量控制的前馈信号,有些液位信号被作为逻辑控制的重要信号,作为机组跳闸、危机停机的重要检测信号手段,在电厂自动控制中发挥极其重要的作用,下面以电厂中液位的测量为例说明如何提高液位测量的准确度,如何提高液位测量的准确度成为在安装中的重要课题。
 
1.安装概述
在火电安装中,液位信号一般安装在凝汽器热井、除氧器水箱、高压加热器、低压加热器、汽包(汽水分离器)等诸多部位,其信号是作为其设备及机组安全运行的及其重要的参数,如果该参数超过其允许值,可能造成机组跳闸的危害。
在安装过程中,根据测量准确度的要求不同,可选用单室平衡容器或双室平衡容器。
(1)在选用单室平衡容器时,差压计的正压头由平衡
容器的恒定水柱维持不变,负压头随容器的液位变化而变化,误差由于以下原因造成:
①在运行过程中,当容器液位降低时,由于差压增大,差压仪表表的膜片或膜盒要从正压侧向负压侧移动,从而使平衡容器正压侧水柱暂时降低。
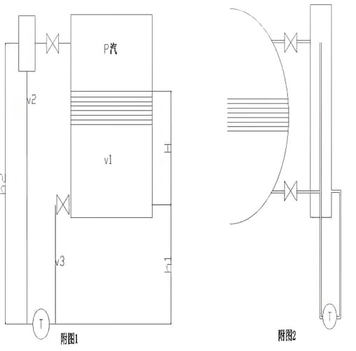
②在容器中,由于受到容器内的饱和水、蒸汽与容器内的温度不同,重度也不同,造成仪表读数误差。在运行过程中,如果容器内为蒸汽,如汽包液位、高加液位等,随着机组运行状况的变化,液位波动比较大,如何在同一容器上的几台变送器读数一致,且正确的反应液位H的情况,如图:
云顶集团3118acm官网
P1一正压室压力;P2一负压室压力;P汽一容器内汽相压力;H一被测量液位高度;h1一zui低液位到变送器高度;h2一zui高液位到变送器高度;V1一被测液位重度;V2一负压侧液位重度:V3一正压侧液位重度:
T一液位变送器。
正负压得压力分别为:
P1=h1v3+Hv1+P汽
P2=h1v2+P汽
正负压之间的差压为:
⊿P=P1-P2=h1v3+Hv1+P汽-h1v2-P汽=Hv1+h1v3-h1v2
从上式可以看出v1=v3=v2时,可以减少液位误差。
(2)在选用双室平衡容器时,由于平衡容器的温度远远低于被测容器的温度,造成负压管的水面比容器的水面低造成测量误差
 
2.减少液位测量的误差的因素
(1)消除安装因素,在安装过程中,要充分结合环境因素,使正压侧和负压侧的环境基本一致,消除上述公式中v3、v2的重度影响因素,使之v3=v2,同时,在安装过程中充分保证同一容器上的平衡容器安装正压侧液位标高一致(即保证h2在运行),在安装中,使之阀门与管道和平衡容器之间的距离一致,如果是蒸汽,要充分保证平衡容器前管道安装内径符合或大于安装规范,使之蒸汽在容器中波动后快速冷却,同时仪表管路的安装环境一致也是消除液位误差的因素之一。
在真空系统液位测量中,如凝汽器热井液位,充分保证正压侧平衡容器的液位是正确测量的重要条件,因为在热井液位的测量过程中保证了v1=v2=v3,所以在安装过程中平衡容器与容器的管道内径不要太大,必要时在保证平衡容器一致的情况下,可以增加弯头,防止平衡容器内的液位被真空破坏,充分保证测量液位的准确度。
(2)采用温度补偿,在容器中,容器内的饱和水、蒸汽与容器内的温度不同,重度也不同,造成仪表读数误差,如果v1=v2=v3,仪表的读数和容器内的液位是一致的,完全消除读数误差,由于计算机水平的提高,在压力计算过程中,克服掉容器内外的温度差,将使仪表的信号更加准确,为此,可以在容器上和正负压室各安装一支温度计,在计算机逻辑运算中进行温度补偿,使之重度差基本消除,仪表的信号更为**。
 
3.结束语
液位信号作为电站中自动控制的重要参数,提高液位测量的准确度对电站的安全、经济运行有着极其重要的作用,因此,如何提高液位测量的准确度在安装过程中显得尤为重要,安装过程中对液位测量设备的充分了解并采取一定的措施,提高液位测量的准确度,保证机组安全、稳定、长周期高效运行。

上一条:流量计量在社会生产中的效益
下一条:天然气远程计量系统在计量间的应用及问题探讨


客户服务热线
15312307860

联系我们