固定电话:

0517-86881563

手机热线:

153-1230-7860

当前位置:首页 >> 新闻动态
保温型塑料磁翻板液位计
技术领域
本实用新型涉及一种保温型塑料磁翻板液位计。

背景技术
磁翻板液位计是根据国内外同类产品加以消化提高且按照原化工部颁布的磁性液位计标准HG/T21584-95研制生产的产品。该仪表可用于各种塔、罐、槽、球型容器和锅炉等设备的介质液位检测。
磁性浮子液位计,也可称为磁翻板液位计,根据浮力原理和磁性耦合作用研制而成。当被测容器中的液位升降时,液位计本体管中的磁性浮子也随之升降,浮子内的**磁钢通过磁耦合传递到磁翻柱指示器,驱动红、白翻柱翻转180°,当液位上升时翻柱由白色转变为红色,当液位下降时翻柱由红色转变为白色,指示器的红白交界处为容器内部液位的实际高度,从而实现液位清晰的指示。
该仪表可用于各种塔、罐、槽、球型容器和锅炉等设备的介质液位检测。该系列的液位计可以做到高密封,防泄漏和适用于高温、高压、耐腐蚀的场合。它弥补了玻璃板(管)液位计指示清晰度差、易破裂等缺陷,且全过程测量无盲区,显示清晰、测量范围大。
 
实用新型内容
针对本领域的技术发展的需要,本实用新型提出了一种保温型塑料磁翻板液位计,包括液位计主体,所述液位计主体的内部具有一中空管道:翻板指示器,设置于所述液位计主体的上部的外表面上:标尺,位于所述翻板指示器的下方;以及磁浮子,设置于所述液位计主体的中空管道内。
根据本实用新型的一个优选实施例,在上述的保温型塑料磁翻板液位计中,所述标尺上标示有高度的刻度。
根据本实用新型的一个优选实施例,在上述的保温型塑料磁翻板液位计中,所述液位计主体的底部设置有一排污阀。
根据本实用新型的一个优选实施例,在上述的保温型塑料磁翻板液位计中,还包括:上连接法兰,通过一**管道连接到所述液位计主体的上部。
根据本实用新型的一个优选实施例,在上述的保温型塑料磁翻板液位计中,还包括:下连接法兰,通过一第二管道连接到所述液位计主体的下部。
根据本实用新型的一个优选实施例,在上述的保温型塑料磁翻板液位计中,所述中空管道内充填红色液体。
本实用新型具有高灵敏度、宽视窗等特点,能实现各种液体以及高温、高压、腐蚀性和易燃易爆介质液位的连续测量。此外,本实用新型还具有显示器以红色指示液位,直观、醒目:测量范围大、全过程测量无盲区。显示器与被测介质完全隔离,安全、可靠等等优点。
应当理解,本实用新型以上的一般性描述和以下的详细描述都是示例性和说明性的,并且旨在为如权利要求所述的本实用新型提供进一步的解释。
 
附图说明
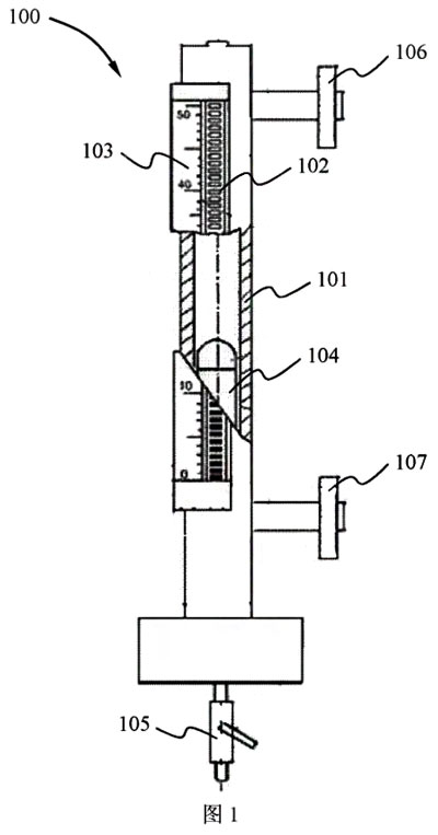
附图主要是用于提供对本实用新型进一步的理解。附图示出了本实用新型的实施例,并与本说明书一起起到解释本实用新型原理的作用。附图中:图1示意性地示出了根据本实用新型的一个优选实施例的保温型塑料磁翻板液位计的示意图。
云顶集团3118acm官网
 
具体实施方式
以下结合附图详细描述本实用新型的技术方案。其中,相同的标号用于表示相同的元素,且以下描述中的具体技术术语并不构成对本实用新型的技术方案本身的实质性限制。实际上,本领域的技术人员所熟知的各种变化都是允许的。图1示意性地示出了根据本实用新型的一个优选实施例的保温型塑料磁翻板液位计的示意图。
如图1所示,本实用新型的保温型塑料磁翻板液位计100主要包括:液位计主体101、翻板指示器102、标尺103、磁浮子104。其中,液位计主体101的内部具有一中空管道,中空管道内充填红色液体(未图示)。翻板指示器102设置于所述液位计主体101的上部的外表面上。标尺103位于所述翻板指示器102的下方,标尺103上标示有高度的刻度,以便于进行读数操作。磁浮子104则设置于所述液位计主体101的中空管道内。
此外,如图1所示,根据本实用新型的一个优选实施例,在上述的保温型塑料磁翻板液位计100中,所述液位计主体101的底部设置有一排污阀105。该排污阀105可用于排干所述中空管道内的污浊的红色液体,以便进行换液。
根据本实用新型的一个优选实施例,在上述的保温型塑料磁翻板液位计100中,还包括:通过一**管道连接到所述液位计主体101的上部的上连接法兰106以及通过一第二管道连接到所述液位计主体101的下部的下连接法兰107。
此外,本实用新型的保温型塑料磁翻板液位计100的中空管道的材质为塑料。塑料液位计较耐腐蚀,但耐低温性差,在-20℃以下就会脆化。我国大部分地区室外*低温度都在-20℃以下,所以开发保温型塑料液位计很有市场前景。
本实用新型具有高灵敏度、宽视窗等特点,能实现各种液体以及高温、高压、腐蚀性和易燃易爆介质液位的连续测量。此外,本实用新型还具有显示器以红色指示液位,直观、醒目;测量范围大、全过程测量无盲区。显示器与被测介质完全隔离,安全、可靠等等优点。
上述实施例是提供给本领域普通技术人员来实现或使用本实用新型的,本领域普通技术人员可在不脱离本实用新型的发明思想的情况下,对上述实施例做出种种修改或变化,因而本实用新型的保护范围并不被上述实施例所限,而应该是符合权利要求书提到的创新性特征的zui大范围。
 

上一条:天然气远程计量系统在计量间的应用及问题探讨
下一条:如何正确合适的安装超声波流量计


客户服务热线
15312307860

联系我们