技术领域
本实用新型涉及一种用于测量流体流量的装置,具体涉及一种可除垢的烟气流量测量装置。
背景技术
火力发电厂排放的烟气中含有大量的硫,为满足环境保护要求,烟气在排入大气之前必须进行脱硫处理,即在烟气中喷入足量的碳酸钙溶液,而它与烟气中的硫起反应生成亚硫酸钙,混杂在烟气中。在流动过程中亚硫酸钙遇到插装在烟气管道中的流量测量棒时很容易附着到测量棒上形成结垢进行累积,堵塞烟气流量测量装置的感压口,影响流量的准确测量。
发明内容
本实用新型的目的是提供一种可除垢的烟气流量测量装置,通过设置铲刀除去附着在测量棒上的亚硫酸钙结垢。
为达到上述目的,本实用新型的技术方案是这样实现的:
本实用新型实施例提供一种可除垢的烟气流量测量装置,包括接管咀和测量棒,所述测量棒由内部的测量管和外部的保护管同轴套装而成,且可做相对直线运动;:所述测量管和保护管之间设置有滑动定位组件:所述测量棒上设置有末端感压囗;所述末端感压口处设置有**铲刀和第二铲刀,**铲刀固定于保护管上,其刀刃位于末端感压口内,第二铲刀固定于保护管其刀刃设于测量管末端外表面上:所述接管咀和测量棒之间设置有往复直线运动机构,接管咀通过往复直线运动机构中部的通孔与测量管连通:所述测量管和保护管之间靠近往复直线运动机构处设置有滑动密封装置。所述测量管上设置有与末端感压口位于测量棒同侧的中间感压口;所述中间感压口处设置有第三铲刀和第四铲刀,第三铲刀固定于保护管上,其刀刃位于中间感压口内,第四铲刀固定在测量管上且其刀刃位于保护管外表面。
所述滑动定位组件是设置于测量管上的定位键和保护管上的定位槽,定位键设置于定位槽内。
所述测量棒上设置有与中间感压口沿管壁对称的辅助开口。
所述辅助开口外侧设置有静压外管盖板和与静压外管盖板固定连接的固定在测量管上且其刀刃位于保护管外表面的第五铲刀。
本实用新型具有以下优点:
本实用新型可人为定期使用往复直线运动机构使内部测量管和外部保护管发生相对直线运动而使得末端感压口处固定在保护管上的**铲刀位于末端感压口内的刀刃发生直线运动而除去末端感压口内壁附着的亚硫酸钙结垢,同时使得固定在保护管上的第二铲刀位于测量管外表面的刀刃发生直线运动而除去末端感压口外壁附近附着的亚硫酸钙结垢:同理,内部测量管和外部保护管发生相对直线运动时,中间感压口处固定于保护管上刀刃位于中间感压口内的第三铲刀发生直线运动而除去中间感压口内壁附近附着的亚硫酸钙结垢,固定于测量管其刀刃设于保护管外表面上的第四铲刀发生直线运动而除去中间感压口外壁附近附着的亚硫酸钙结垢,与第二铲刀对称的第五铲刀可与第二铲刀相同原理而除去与中间感压口对称的辅助开口处外表面的亚硫酸钙结垢,从而可对装置感压口进行全面除垢,防止亚硫酸钙堵塞烟气流量测量装置的感压口保证装置正常使用。
附图说明
图1为实施例1的剖视图。
图2为实施例2的剖视图。
图3为实施例3的剖视图。
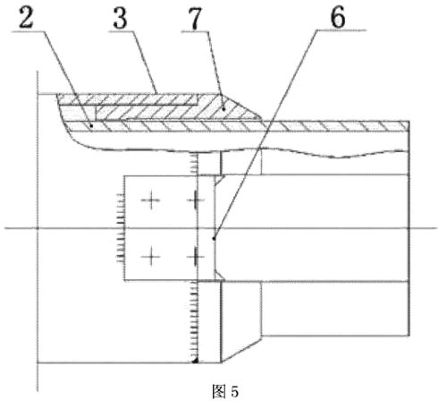
图4为本实用新型结构图(俯视图A)。

图5为本实用新型结构图(俯视图B)。

图中,1-接管咀,2-测量管,3-保护管,4-滑动定位组件,5-末端感压口,6-**铲刀,7-第二铲刀,8-往复直线运动机构,9-滑动密封装置,10-中间感压口,11-第三铲刀,12-第四铲刀,13-辅助开口,14-静压外管盖板,15-第五铲刀。
具体实施方式
下面结合具体实施方式对本实用新型进行详细的说明。
实施例1(参见图1和图5),本实用新型涉及的一种可除垢的烟气流量测量装置,包括接管咀1和测量棒,所述测量棒由内部的测量管2和外部的保护管3同轴套装而成,且可做相对直线运动;所述测量管2和保护管3之间设置有滑动定位组件4;所述测量棒上设置有末端感压口5:所述末端感压口5处设置有**铲刀6和第二铲刀7,**铲刀6固定于保护管3上,其刀刃位于末端感压口5内,第二铲刀7固定于保护管3其刀刃设于测量管2末端外表面上;所述接管咀1和测量棒之间设置有往复直线运动机构8,接管咀1通过往复直线运动机构8中部的通孔与测量管2连通:所述测量管2和保护管3之间靠近往复直线运动机构处设置有滑动密封装置9。实施例2(参见图2和图4)所述测量管2上设置有与末端感压口5位于测量棒同侧的中间感压口10:所述中间感压口10处设置有第三铲刀11和第四铲刀12,第三铲刀11固定于保护管3上,其刀刃位于中间感压口10内,第四铲刀12固定在测量管2上且其刀刃位于保护管3外表面。所述滑动定位组件4是设置于测量管3上的定位键和保护管4上的定位槽,定位键设置于定位槽内。
实施例3(参见图3),所述测量棒上设置有与中间感压口10沿管壁对称的辅助开口13。所述辅助开口13外侧设置有静压外管盖板14和与静压外管盖板14固定连接的固定在测量管2上且其刀刃位于保护管3外表面的第五铲刀15。
本实用新型所描述的测量棒,测量管2的管径在40~110毫米,保护管3的管内径比测量管2的管外径大420毫米,测量管2的长度约1~6米。每个测量点的中间感压口4开口尺寸为20*70mm60*100mm。测量棒由直径大小不同测量管2和保护管3同轴套装而成。装置所设置的滑动密封装置12,可防止被测烟气外漏,同时可以卡在测量管2和保护管3之间,限定其相对位置,使其保持平行。测量棒内的滑动定位组件4可保证内测量管与外保护管在设定行程內作直线往复滑动。往复直线运动机构8的固定部与保护管3连接,活动部端部与测量管2连接。
本实施例中,通过法兰盘安装盖将测量棒固定,则保护管3固定,测量管2可通过操作直线往复机构8进行动作。**铲刀6的刀刃与末端感压口5的两内侧边相贴合,第二铲刀7的刀刃与末端感压口5附近外壁相贴合。在只设有末端感压口5时,可进行单点式测量。第二铲刀7同时可作为末端定位环,卡在测量管2和保护管3之间,限定其相对位置,使其保持平行。
第三铲刀11的刀刃与中间感压口10的两内侧边相贴合,第四铲刀12的刀刃与中间感压口10附近外壁相贴合。同时设有中间感压口10和末端感压口5则为多点式测量装置。在测量棒体上可根据需要设置多个中间感压囗10,同时设置配套的第三铲刀1l和第四铲刀12,提高测量数据可靠性。
测量棒上设置有与中间感压口10沿管壁对称的辅助开口13,辅助开口13外侧设置有静压外管盖板14和与静压外管盖板14固定连接的固定在测量管2上且其刀刃位于保护管3外表面的第五铲刀15,专用于静压测量装置。辅助开口13主要用来方便第五铲刀15的安装,静压外管盖板14主要用来遮挡辅助开口13,防止杂物进入。中间感压口10和辅助开口13以及第三铲刀11、第四铲刀12、静压外管盖板14和第五铲刀同时存在,可同时设置多个。总压测量装置和静压测量装置为独立并列式布局,两者互不干扰,使信号强度得到提升,使其满足在夹杂大量固态杂质时能正常使用。安装时,总压测量装置的总压测量棒,感压口正对来流方向:而静压测量装置的静压测量棒,感压口方向完全相反,是背向来流方向。在使用本产品时,通过接管咀1与所需配套测量装置相连接,即可进行烟气流量测量可根据经验设定相应的运行时间,操作往复直线运动机构8,将旋转运动转变为直线运动带动测量棒的内部测量管作直线往复运动,而使得中间感压口10处固定在保护管3上的第三铲刀11位于中间感压口10内的刀刃发生直线运动而除去中间感压口10内附着的亚硫酸钙结垢,同时使得固定在测量管2上的第四铲刀12位于保护管3外表面的刀刃发生直线运动而除去中间感压口10外壁附近附着的亚硫酸钙结垢:同理,内部测量管2和外部保护管3发生相对直线运动时,末端感压口5处固定于保护管3上刀刃位于末端感压口5内的**铲刀6发生直线运动而除去末端感压口5内附着的亚硫酸钙结垢,固定于保护管3其刀刃设于测量管2末端外表面上的第二铲刀7发生直线运动而除去末端感压口5外壁附近附着的亚硫酸钙结垢,第五铲刀15与第四铲刀12相同原理除去与中间感压口10对称的辅助开口13的亚硫酸钙结垢,从而可对装置感压口进行全面除垢,防止亚硫酸钙堵塞烟气流量测量装置的感压口,保证装置正常使用。
本实用新型的内容不限于实施例所列举,本领域技术人员通过阅读本实用新型说明书而对本实用新型技术方案采取的任何等效的变换,均为本实用新型的权利要求所涵盖。
上一条:
焦炉煤气流量计量的应用研究
下一条:
一体化阿牛巴流量计在煤气流量测量中的应用