固定电话:

0517-86881563

手机热线:

153-1230-7860

当前位置:首页 >> 行业新闻
具有压力检测与显示功能的水泥浆流量计装置附
具有压力检测与显示功能的水泥浆流量计装置,应用于石油钻井行业中的具有压力检测与显示功能的水泥浆流量计装置,包括压力传感器、传感器座、压力通道、上密封胶圈、活塞、下密封胶圈、活塞缸,压力传感器通过螺纹连接在传感器座上,压力通道的下面与活塞缸相通,活塞缸内有活塞,在活塞圆柱体上分别安装有上密封胶圈和下密封胶圈。该装置具有压力实时检测与显示功能,解决长期以来固井水泥浆流量计没有压力检测与显示功能的现象。该发明简单巧妙,自投入生产运行以来没有发生过堵塞故障,检测和显示的压力非常准确,受到施工人员的好评,提升水泥浆流量计的实用性
技术
泥浆流量计涉及石油钻井行业中在固井作业时的一种具有压力检测与显示功能
的水泥浆流量计装置
背景
固井是石油工业钻井过程中的*后一道工序。但钻井工作完成以后,要通过水泥车把水泥浆输送到井下套管与井眼之间的环空内,利用水泥浆的快速凝结作用迅速把套管和井壁结合到一起,使钻好的油井得到加固而不能坍塌。由于水泥浆加注过程是超高压作业,压力一般在20Mpa到50Mpa之间,因此,水泥浆流量计不仅要准确反应所加注水泥浆量,同时也要及时检测加注水泥浆过程中实时的压力情况,以确保生产设备和工人生命安全水泥浆不同于一般的流体介质,通常为了提高水泥浆快速凝结作用,水泥浆内含有大量的快干水泥和其它化学添加剂成分,快凝早强的水泥浆性能造成了压力传感器的通道很容易被堵塞,致使压力检测装置形同虚设,逐渐的水泥浆流量计干脆取消了压力检测的装置,水泥浆流量计中要检测压力被看成为不可能实现的事情。近丿几年来,石油工业对固井技术的要求越来越高,能否实时把水泥浆压力安全准确的检测并显示出来,确保施工作业安全,体现以人为本的安全生产理念,成为检验水泥浆流量计的关键技术。作为高科技企业能否研发岀即能满足流量检测同时又能实时显示压力的水泥浆流量计是摆在我们面前的重要任务,也是我们“服务于油田”这个宗旨所急需解决的课题在一般的介质中检测压力的技术已经非常成熟,用一条通道把被检测的流体引到压力传感器上就可以实现,但固井水泥浆中的主要成分是高强度快速凝结水泥和化学添加剂,快速凝结的作用非常强。连接压力传感器的通道一般直径只有2-4m,水泥浆在这里极易发生堵塞;另外由于水泥浆是在压力极高的状态下工作的,出于安全考虑通常要把该通道设计有一个直角,用于缓解压力,这样就加剧了该通道的堵塞,形成了现在在用的水泥浆流量计失去检测压力的功能的现状。因此硏制一种具有压力检测与显示功能的水泥浆流量计装置一直是急需解决的新课题。
内容
本实用泥浆流量计的目的是提供一种具有压力检测与显示功能的水泥浆流量计装置,该装置具有压力检测与显示功能,破解固井流量计长期以来由于压力通道容易被水泥浆堵塞而无法实现压力检测与显示的难题,巧妙的解决水泥浆堵塞压力通道影响压力检测的技术
瓶颈,突破水泥浆流量计研发制造技术难题。
本实用新型的目的是这样实现的:一种具有压力检测与显示功能的水泥浆流量计装置,包括压力传感器、传感器座、压力通道、上密封胶圈、活塞、下密封胶圈、活塞缸,压力传感器通过螺纹连接在传感器座上,压力通道的下面与活塞缸相通,活塞缸内有活塞,在活塞圆柱体上分别安装有上密封胶圈和下密封胶圈。
本实用型的要点在于它的结构。其工作原理和操作方法是,按照帕斯卡定律,当活塞受到水泥浆压力推动时,活塞向上方移动,把压力传递给活塞缸和压力通道,并传递到压力传感器上,使压力传感器得到讯号。当固井作业时,由于我们在活塞外圆柱表面安装有上密封胶圈和下密封胶圈,使水泥浆不能进入到活塞缸内,这样就断绝了水泥浆堵塞的通道,避免了活塞缸和压力通道被水泥浆堵塞,而活塞却可以随着压力的不同而上下活动,把实时的压力状况准确的传递到压力传感器上。这样既避免了压力通道的堵塞,也准确无误的传递了压力信息,解决了水泥浆流量计长期以来测量不了压力值的老大难问题。
具有压力检测与显示功能的水泥浆流量计装置与现有技术相比,具有压力实时检测与显示功能,解决长期以来固井水泥浆流量计没有压力检测与显示功能的现象。该发明简单巧妙,自投入生产运行以来没有发生过堵塞故障,检测和显示的压力非常准确,受到施工人员的好评,提升水泥浆流量计的实用性等优点,将**地应用于石油钻井行业中
下面结合附图及实施例进行详细说明
云顶集团3118acm官网
实施
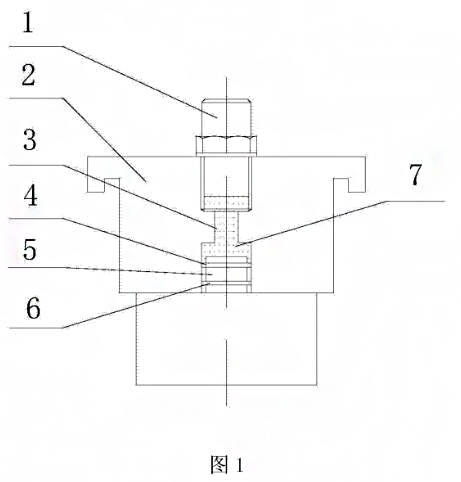
参照附图,一种具有压力检测与显示功能的水泥浆流量计装置,包括压力传感器1、传感器座2、压力通道3、上密封胶圈4、活塞5、下密封胶圈6、活塞缸7,压力传感器1通过螺纹连接在传感器座2上,压力通道3的下面与活塞缸7相通,活塞缸7内有活塞5,在活塞5圆柱体上分别安装有上密封胶圈4和下密封胶圈6。
下面结合实施例对本实用新型作进一步具体描述
在水泥浆加注过程中,由于水泥浆流量计本体内充满高压水泥浆,水泥浆对整个管路会产生正压,活塞5也同样受到压力,被推动向上移动。在活塞5向上移动过程中,把压力传递给活塞缸7,经由压力通道3并传递给压力传感器1上。使活塞5可以随着压力的不同而上下活动,进而把压力准确的传递到压力传感器1上。由于活塞5上面安装有上密封胶圈4和下密封胶圈6,使得水泥浆不能进入到活塞缸7内,这样就阻止了水泥浆进入到活塞缸7和压力通道3内。我们在活塞缸7和压力通道3内充满了专用液体,这种液体不含任何杂质,可以准确的把压力值传递到压力传感器1上,由此压力传感器检测到的压力讯号是准确的。压力通道堵塞现象得到杜绝,测量压力结果更准确。当活塞5受到水泥浆压力时,被推动活塞向上移动,把压力传递给活塞缸7和压力通道3,并传递给压力传感器上,由于活塞5外圆上安装有上密封胶圈4和下密封胶圈6,使得水泥浆不能进入到活塞缸7内,这样就阻止了水泥浆进入到压力通道3内。检测与显示的压力值是准确的。由于活塞缸7和压力通道3内是充满了专用液体,所以压力传感器1表面始终专用液体接触,其检测到的压力值也是准确的。

上一条:具有快速响应的电磁流量计高低压励磁系统
下一条:智能密封系列潜水型电磁流量计产品特点


客户服务热线
15312307860

联系我们