一、技术领域0o01实用新型涉及一种在测量流体流速的电磁流量计中,用于判断管道中是否存在液体介质的装置,即空管检测装置。该装置不需要在测试管上增加测量电极,而是直接在电磁流量计现有的测量电极上,施加激励电流的方式来检测管内流体介质的电导率,以此作为判断是否为空管状态的依据。该装置不仅适用于液固两相流体,而且还可用于其他需要测量流体(包括液体和液固两相流体)电导率
二、背景技术电磁流量计是利用法拉第电磁感应原理在一个激励磁场下流体切割磁力线产生感应电势来进行测量,传感器两电极输出与流体流速成正比的感应电势。因此,电磁流量计主要是一种测量流体流速的仪器。由于空管会造成电磁流量计的电极暴露在空气中,容易引入电磁骚扰,造成电磁流量计错误的输出流速信号:随着电磁流量计的应用越米越多,希望电磁流量计在技术上能具有对流体导电率或内阻进行定量监测的能力,当检测到电磁流量计是空管时,则无条件的输出零流速。目前有采用电容耦合高频方法来判别传感器空管故障的流体电导率相对变化值检测方法,但采用相对电导率检测存在对低电导率流体测量不准确的问题,且对于液固两相流体的电导率不稳定,测量非常容易出现误判空管的情况;中请号为9193261.3利用附加峰峰值为14V频率为0.5Hz的方波交流激励来连续检测空管,不极化电极且可使用高分布电容的电缆来工作但由于空管检测信号小于激励频率很容易受到由实际流体流动所产生的流量噪声所影响,且0.5激励信号与工频50信号难以分离,不适用于工频正弦交流励磁。有公开号为CW7310采用串接激励的方法解决电磁流量计对低电导率流体测量的技术。公开号为CN7604采用并联式激励实现了对流体测量实时动态监控。然而公开号为CN173106、CN1760643A均存在同样的问题,对于正弦交流励磁来说,其采取的激励措施使得附加激励产生的流体阻抗信号与磁场激励下的流量信号难以分离,彼此之间存在干扰的现象难以消除,使得测量结果可能不准。公开号为CN01718565A采用电极两端串接由光电转换器产生的激励信号,提供了一种既能保持在磁场激励下的高性能流量测量特性,又能在附加电势激励下对电极两端间流体阻抗进行监测,但电路结构相对复杂化,同时由于不能连线测量流体阻抗,所以不适用工频正弦交流励磁的电磁流量计。因此,对于采用工频正弦交流励磁的电磁流量计,对流体电导率或内阻进行定量的动态监测还没有较为理想的方法应用于产品中,一定程度上妨碍了电磁流量计向低成本、多功能化和高可靠性方面的发展
三、附图说明
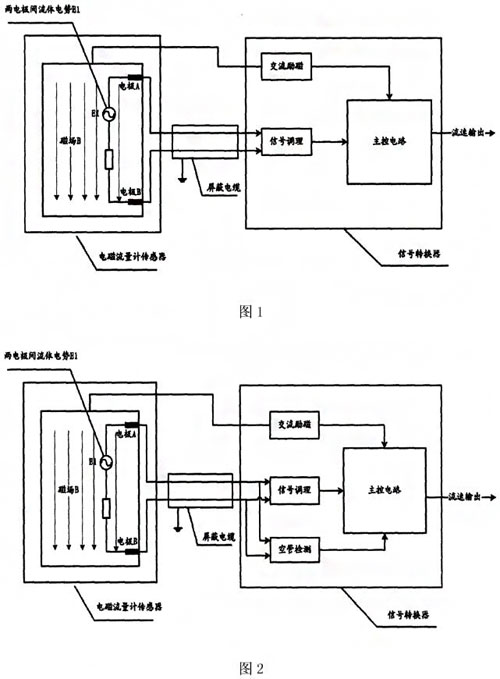
图1是一种原有电磁流量计的电路结构示意图图2是一种原有带空管检测的电磁流量计的电路结构示意图图3是一个电极与地之间施加空管检测信号的电磁流量计的电路结构示意图图4是两个电极之间施加空管检测信号的电磁流量计的电路结构示意图五、具体实施方式见图1示意图中,电磁流量计传感器在交流励磁下,产生交变磁场,导电流体在交变磁场中切割磁力线产生感应电势E1,通过屏蔽电缆输出至远端信号转换器的主控制电路板,在主控制电路板上输出流速信号并显示见图3、图A示意图中,由CPU控制口产生周期为16us的高频激励,经模拟转换为高频正弦激励E2,该i正弦激励直接施加在,电磁流量计传感器的其中一个电极与地或者是两个电极之间,(图3是一个电极与地之间施加空管检测信号的电磁流量计的电路结构图,图4是两个电极之间施加空管检测信号的电磁流量计的电路结构图):由此产生被测流体内阻R1的测量信号U1,该测量信号U1与流体内阻R1成线性关系U1=K*R1(K为已知系数),不可避免的是流体内阻测量信号与流体流速测量信号同时存在,二者混在一起,再经过高通滤波电路将空管检测信号提取出来,此时对流速信号衰减在604B以上,经CP实时采样并经过数字滤波后,与设定的阅值(可调参数)相比较,若判断为空管,则v发出zcro信号,立刻闭合开关K1关闭流速测量信号,使信号转换器显示为零,否则断开开关K正常输出流速信号。而电极上流速测量信号经过低通滤波电路,此时对空管检测信号衰减60u8以上,再经过信号调理电路后输出流速信号,实现与空管检测信号相互分离,从而保证流速测量的准确度008]见图2示意图中,是一种原有的带空管检测的电磁流量计的电路结构图,由于电缆分布电容的影响,该分布电容对高频率的空管检测信号有一定的损耗,特别是长距离的屏蔽电缆,会直接影响到空管检测信号对于流体电导率的测试,所以该结构并不适合,本实用新型提出的高频率信号空管检测方式。结合图3和图4可以看出为了保证微弱的空管检测信号不失真的传输,空管检测装置就近放置于传感器出线处(传感器内部),进行信号处理后再通过屏蔽电缆传输,从而解决了高频率空管检测信号对电缆分布电容大小的要求009由于电磁流量计传感器与信号传换器之间通常只有用于传输流速信号的二芯屏数电缆,并没有低压直流电源供给电缆,为了满足通用的安装习惯,不对空管检测装置另外增加供电电缆,空管检测装置的供电电源使用二芯屏蔽电缆的其中一根导线进行供电,另外一根导线用于传输经过调理后的流速信号;实现直流供电与信号传输共用一根二芯屏蔽电缆0020根据不同的使用环境,信号传换器需要调整空管检测装置的空管阅值参数设置时,则使用数字信号调制方式,该信号叠加在供电电源的电缆上进行传输,方便在现场调整空管检测装置的参数,满足不同的使用条件。由于数字编解码是已知的技术,所以在这里不详细进行说明

上一条:
电磁流量计使用时面板怎么设置?
下一条:
电磁流量计在应用中要注意的17个要点总结