固定电话:

0517-86881563

手机热线:

153-1230-7860

当前位置:首页 >> 新闻动态
一种带压力测量的电磁流量计
一种带压力测量的电磁流量计结构及实施介绍
传统电磁流量计仅仅测量管道内部导电液体的瞬时流量和累计流量,无法测量管道内部压力,当管道内部压力变化时,流体将受到压力影响,流速及流量产生变化,因此,需要对管道内部进行压力信号的测量,进行实时的监控,这样才能测量的更加稳定可靠。
带压力测量的电磁流量计内容
本新型电磁流量计的目的是克服现有技术产品的缺陷,提供一种可以同时测量压力和流量、测量准确的带压力测量的电磁流量计。
本新型是这样实现的:一种带压力测量的电磁流量计,其特征在于:包括电磁流量计、压力变送器、数据采集模块,所述压力变送器、电磁流量计的信号输出端口分别通过线缆与数据采集模块相连,所述数据采集模块被封装在密封箱内此密封箱为不锈钢密封箱。
本新型的有益效果是:将电磁流量计,压力变送器与数据采模块相连,通过数据采集模块统一进行采集及计算,不仅能够**和可靠的测量流量和压力数据,而且能够同时显示,不锈钢箱体內密封性能好,可以有效的防水,大大方便了用户的使用及读数,还可以进行信号的输出与数据采集。
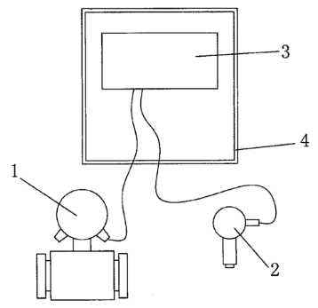
附图为本新型结构示意图。
云顶集团3118acm官网
其中:1、电磁流量计;2、压力变送器;3、数据采集模块:4、不锈钢箱体。
具体实施方式
结合附图对本实用新型的具体实施方式作进一步的详细说明,以使本行的技术人员在阅读后,能够进一步地掌握和理解本实用新型的结构特征。根据附图,本实用型包括分别与数据采集模块3通过电缆相连的电磁流量计压力变送器2。所述电磁流量计1上设有信号输出端口与数据采集模块3相连,所述压力变送器2通过信号输出端口与数据采集模块3相连。所述数据采集模块3被封装在不锈钢箱体4内。所述电磁流量计1与压力变送器2通过电缆与不锈钢箱体4体内数据采集模块3固定连接。因此,数据采集模块3的统一信号采集及处理,可以显示流量及管道内部的压力,使用方便可靠。

上一条:电磁流量计在无菌灌装系统中的应用
下一条:电磁流量计与超声波流量计的基本性能比较及选


客户服务热线
15312307860

联系我们