1.背景技术
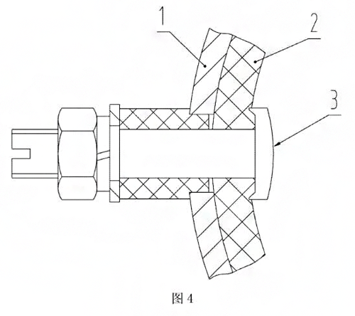
电磁流量计是利用法拉第的电磁感应定律,即导电性液体在垂直于磁场的非磁性测量导电性液体在垂直于磁场的非磁性测量管内流动,与流动方向垂直的方向上会产生与流量成比例的感应电势,我们根据感应电动势的大小就可以知道流过的流量大小。电磁流量计电极的作用是从测量管中引出感应电动势,而测量的介质可以是带腐蚀性的各种液体,因此电极的密封和绝缘是非常重要的。参见图4、图5,现有的电磁流量计电极的安装结构是这样的:其包括金属外管1、衬里2和电极3,衬里2设置在金属外管1中,金属外管的管壁设有用于电极3穿过的过孔,衬里2上设有与金属外管上的过孔同心的装配圆孔,电极3包括电极杆31和位于电极杆一端的电极圆头32,电极杆31和电极圆头32成型为体,电极杆31穿过衬里的装配圆孔和金属外管的过孔,电极圆头32与衬里2内壁相接触形成密封面。
现有的这种安装结构对电极杆的对中性要求较高,而金属外管上的过孔和衬里的装配圆孔在加工过程中存在同心度偏差,以及利用预紧工装来装配电极杆时也会使电极杆产生倾斜,从而无法保证电极杆完全对中,这样就可能导致*后的电极杆装配出现不同程度的倾斜,致使电极的电极圆头与衬里之间的密封出现不均匀性,使得电极与衬里之间的密封不可靠,导致传感器测量出现问题。
2.实施内容
本文所述的是一种电磁流量计电极的安装结构,提高电极的电极杆的对中性,以及电极与衬里之间的密封性能。技术方案是:一种电磁流量计电极的安装结构,包括金属外管、衬里和电极,其中,衬里设置在金属外管中,电极包括电极杆和位于电极杆一端的电极圆头,金属外管的管壁设有过孔,所述衬里设有与金属外管上的过孔同心的装配孔,电极杆穿过衬里的装配孔和金属外管的过孔,其特征在于,所述电极杆与所述电极圆头之间设有电极圆锥段,所述装配孔的内侧孔口具有与所述电极圆锥段相配合的圆锥形的倒角面,所述电极圆头与所述衬里的内壁之间相接触形成*密封面,所述电极圆锥段与所述装配孔的倒角面之间相接触形成第二密二封面。
所述电极杆、所述电极圆头与所述电极圆锥段为一体成型。
本电磁流量计电极安装结构有益效果是:由于本装置的电极杆与电极圆头之间设有电极圆锥段,装配孔的内侧孔口具有与电极圆锥段相配合的圆锥形的倒角面,电极圆头与衬里的内壁之间相接触形成*密封面,电极圆锥段与装配孔的倒角面之间相接触形成第二密封面,相对于现有技术而言,本实用新型增加了第二密封面,从而提高了电极与衬里之间的密封性能,同时衬里装配孔的圆锥形倒角面能够对电极圆锥段进行导向,保证了电极杆与装配孔之间的对中度,避免了电极杆在安装过程中产生倾斜,进一步提高了电极与衬里之间的密封性能。
附图说明
图1为本新型的结构示意图;

图2为本新型中的衬里的结构示意图;

图3为本新型中的电极的结构示意图

图4为现有技术的结构示意图;

图5为现有技术中的电极的结构示意图。
3.具体实施方式
下面结合附图和实施例对电磁流量计电极的安装结构作进一步说明
参见图1~图3,一种电磁流量计电极的安装结构,包括金属外管1、衬里2和电极3,其中,衬里2设置在金属外管1中,电极3包括电极杆31和位于电极杆31一端的电极圆头32,电极杆31与电极圆头32之间设有电极圆锥段33,电极杆31上设有螺纹,电极杆31、电极圆头32与电极圆锥段33为一体成型。金属外管1的管壁设有过孔,树里2设有与金属外管1上的过孔同心的装配孔2a,装配孔2a的内侧孔口具有与电极圆锥段33相配合的圆锥形的倒角面2a'。电极杆31穿过衬里的装配孔2a和金属外管1的过孔,电极圆头32与衬里2的内壁之间相接触形成*密封面,电极圆锥段33与装配孔的倒角面2a'之间相接触形成第二密封面,电极杆31的螺纹部安装锁紧螺母4从而将电极与金属外管1相固定。
上一条:
电磁流量计接线及屏蔽连接要注意以下几点
下一条:
流量计在线实流检定的计量特点