固定电话:

0517-86881563

手机热线:

153-1230-7860

当前位置:首页 >> 新闻动态
电磁供电潜水型电磁流量计具体结构和实施方式
本新型潜水型电磁流量计要解决的问题
目前,对明渠流量的测量计量常采用的计量设备有堰糟式流量明渠计和超声波原理的明渠流量计如多普勒法流量计、时差法流量计等。堰槽式流量明渠计由量水堰糟裝置和水位流量转换仪表(二次仪表)所组成。量水堰槽装置包括:上下游行近段、堰体和水位观测设施。其瞬时流量靠水位流量关系査表而获得,即以堰槽为基本载体,测量堰槽定点水位利用既定的水位流量对应关系査询流量值。但是,堰槽式流量明渠计适用范围相对较窄并要求地势有较大坡降,不能监测对应的流量的实时流速,下游壅水时无法判断真实流量也就无法测量实际过流量;超声波原理的明渠流量计对水质要求过高不能测量污水、含杂质较高的流体,声波在不同温度和介质中传播速度不同,会造成流速测量零点偏移和准确度不稳定,受环境影响较大。它计量不稳定、不可靠、不能测量含杂质较高、含泥沙量大的流体。存在着很多局限性和不稳定性无法全实施推广。上述两种明渠流量计在计量准确度要求方面都不能满足贸易用水计量的要求,会给实际生活带来很多困难。由于这两种明渠流量计功耗相对较大都是以交流或者直流24V电为电源的,在使用中由于需要解决现场电源问题,会给实际使用带来很多困难。
 
发明内容
本电池供电潜水型电磁流量计,它能够克服己有技术的不足,可有效地提高明渠流量测量的稳定可靠性,以及测量的准确性和准确性,从而可解决明渠流量计量不准确、计量难的问题,实现综合检测明渠过流断面流量值,以满足贸易结算中贸易用水计量的要求。并能解决实际使用现场所需电源的问题其解决方案是:由潜水型电磁流量传感器及与其电连接的电池供电潜水型电磁流量转换器构成电池供电潜水型电磁流量计。将潜水型电磁流量传感器安装在明渠渠道内,而电池供电潜水型电磁流量转换器设置在机房内。通过潜水型电磁流量传慼器改变明渠渠道内的过流断面,使渠道内所有流体通过由潜水型电磁流暈传感器组成的标准断面,用来测量传感器内部断面的平均流速,并通过电池供电电磁流量转换器计算出过流断面的流量,并将流量、流速、累积按一定协议输出和显示。
所述潜水型电磁流量传感器为喇叭口型或弯管型。
所述安装在明渠渠道内的潜水型电磁流量传感器至少为一个。
本实用新型采用上述技术方案,它是将潜水型电磁流量传感器安装在明渠渠道内,而将电池供电潜水型电磁流量计转换器设置在机房内。通过潜水型电磁流量传感器改变明渠渠道内的过流断面,使渠道内所有流体通过由潜水型电磁流量传感器组成的标准断面,并用来测量传感器断面内平均流速,并通过电池供电潜水型电磁流量转换器计算出过流断面的流量、累积流量。可有效地提高明渠流量测量的稳定、可靠性以及测量的准确性和准确性,从而解决明渠流暈计量不准确、计量难的问题,实现综合检测明渠过流断面流量值,以满足贸易结算中贸易用水计量的要求。同时还能解决实际使用现场所需电源的问题,给测量工作带来方便。
 
下面附图说明
图1实施例1为电池供电潜水型电磁流量计的结构示意图之一
云顶集团3118acm官网
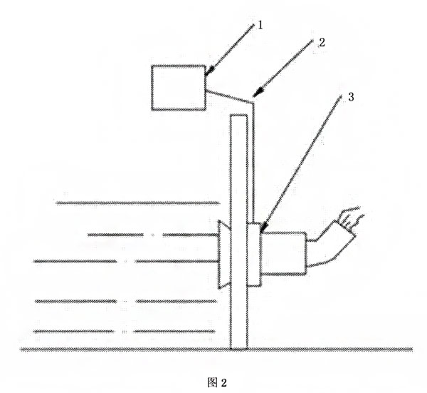
图2实施例2为电池供电潜水型电磁流量计的结构示意图之二
云顶集团3118acm官网
图3为实施例1安装在明渠中的使用状态图
云顶集团3118acm官网
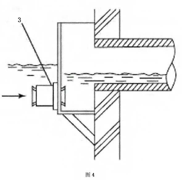
图4为实施例1安装在水渠的进口端之使用状态图
云顶集团3118acm官网
图5为实施例1安装在水坑中的使用状态图
云顶集团3118acm官网
图6为实施例1安装在排放管中的使用状态图
云顶集团3118acm官网
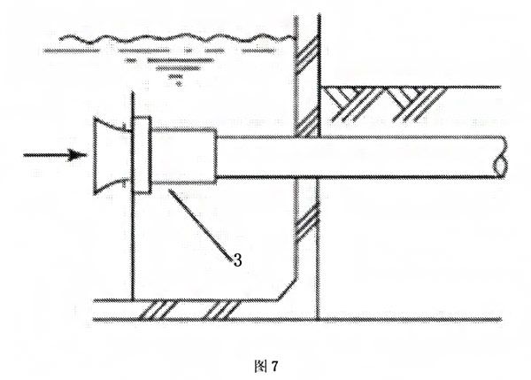
图7为实施例1安装在水渠的排放端的使用状态图
云顶集团3118acm官网
图8为实施例2带有弯管法兰安装在污水预处理厂中的使用状态图。
云顶集团3118acm官网
具体实施方式
下面结合附图详细描述本新型潜水型电磁流量计的具体实施方式。
实施例1
图1中,潜水型电磁流量传感器3为喇叭口型,它通过信号传输电缆2与电池供电潜水型电磁流量转换器1电连接构成电池供电潜水型电磁流量计。将喇叭口型潜水型电磁流量传感器3安装在明渠渠道内,而电池供电潜水型电磁流量转换器1设置在机房内。通过喇叭口型潜水型电磁流量传感器3改变明渠渠道内的过流断面,使渠道内所有流体通过由该潜水型电磁流量传感器3组成的标准断面,用潜水型电磁流量传感器3测量传感器断面内平均流速;通过电池供电潜水型电磁流量转换器计算出过流断面的流量,并将流量、流速、累积按一定协议输出和显示。
所述喇叭口型潜水型电磁流量传感器3是利用法拉第电磁感应定律制成的,它由传感器壳体及其内设置的并与流量显示义电连接的励磁线圈、一对信号电JI、平衡信号接地电JI,以及与传感器壳体密封连接的端盖构成。它能够检测出与被测量过流断面内的流速成正比的感应电势,测出该感应电势就可导出通过传感器的流量,即可发出流量信号。
所述电池供电潜水型电磁流量转换器主要包括CPU芯片及前置放大器、励磁电路、脉冲输出、状态控制、通讯接口、水位输入(可选配附加功能)、键盘、LCD显示器等。电池组供电电源的电源输出端接该电池供电潜水型电磁流量转换器1的电源输入端,由电池组为潜水型电磁流量转换器1供电,CPU中央处理器控制所有电路、功能工作。具体应为由CPU控制励磁电路为喇叭口型潜水型电磁流暈传感器3提供激励信号,该潜水型电磁流量传感器3反馈流速信号并经电池供电潜水型电磁流量转换器的A/D电路转换放大送入CPU处理:送回CPU处理计算出流速、流量、并对时间积分产生累积流量。CPU根据实际电路转换将流量、流速、累积按一定协议输出和显示:而键盘电路时刻检测具体按键输入电路,一且有输入即做相应回馈动作。而水位输入可选配的附加功能一提供计量参考不参与流量计量,通过水位采集监测电路读取水位传感器采集的水深信号并做出水深条件是否符合计量要求的回应,如果实际水深低于一定的值时,流速测量过小进而会导致流量测量精度下降进行明渠流量的测量时,将喇叭口型潜水型电磁流量传感器3安装在如图3、图4、图5、图6及图7所示的位置,以改变过流断面组成标准过流断面,使渠道内所有流体通过由喇叭口型潜水型电磁流量传感器3组成的标准断面,通过喇叭口型潜水型电磁流量传感器3检测出与被测量过流断面内的流速成正比的感应电势,测出该感应电势就可导出通过喇叭口型潜水型电磁流量传感器3的流量,即可发出流量信号。由电池供电潜水型电磁流量转换器1的CPU控制励磁电路为喇叭口型潜水型电磁流量传感器3提供激励信号,该潜水型电磁流量传感器3反馈流量信号并经电池供电潜水型电磁流量转换器1的A/D电路转换放大送入CPU处理;送回所述CPU处理计算出流速、流量、并对时间积分产生累积流量。该CPU根据实际电路转换将流量、流速、累积按一定协议输出和显示:而键盘电路时刻检测具体按键输入电路,一旦有输入即做相应回馈动作。
实施例2
图2中,潜水型电磁流量传感器3为弯管型,进行明渠流量的测量时,将弯管型电磁流量传感器3安装在如图8所示的位置,其它均同实施例1。
 

上一条:电磁流量计安装中如何有效减少弯管对测量的影
下一条:孔板流量计在使用中产生误差的主要原因


客户服务热线
15312307860

联系我们