固定电话:

0517-86881563

手机热线:

153-1230-7860

当前位置:首页 >> 新闻动态
一种可方便拆卸电极的电磁流量计
背景技术
电磁流量计产品可**应用于化工、钢铁、煤炭、矿治、石油开采、石化、造纸、环保、制糖、制药、食品、水利灌溉、给排水和港口疏浚等领域,电磁流量计尤其在各种桨类流体的测量中有其独特的优势,可*地測量各种酸、碱、盐溶液、原水、冷却水、污水、煤桨、矿浆、泥浆、水泥浆、纸浆、糖浆、煤水浆、玉米浆、纤维浆、粮浆、石灰乳、双氧水、啤酒、麦汁、黑液、绿液药液和各种饮料等导电流体和固液二相体的体积流量。在测量过程中,作为电磁流量计拾取流量信号的部件,电极与测量介质直接接触,因此,在其表面很容易附着污垢,从而影响测量。为保证测量准确度,需要定期对电极表面进行清理。传统的电磁流量计,电极是固定在测量管上的,外壳是封闭的,如果要清理电极的表面,必须将流量计从管道上拆卸下来,费工费力还影响工业测量。而如果将电极设计成易于拆卸的固定方式的,则需要解决如何在保证易于拆卸的前提下,对电极进行牢固固定的技术问题。
 
实用新型内容
本实用新型的目的就是要提供一种可拆卸电极的电磁流量计,以解决电极清洗问题,保证电磁流量计的测量精度。
本实用新型是这样实现的:
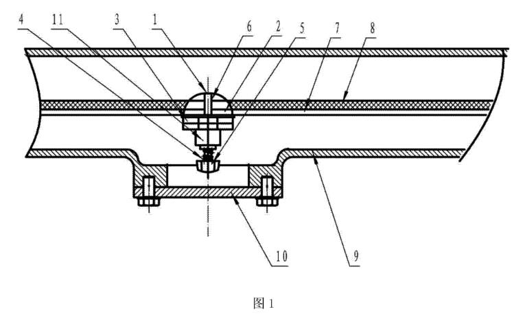
一种可拆卸电极的电磁流量计,由外壳及安装于外壳内的测量管、测量管衬里、电极组件组成,电极组件由电极轴以及安装于电极轴上的电极头、电极座和绝缘电极座套组成,在外壳上设有凸台,所述凸台上开有中心孔并设置有压盖;在所述电极轴的端部设置有旋钮,所述电极轴上螺接有压紧螺母和绝缘座套,在所述绝缘座套与所述旋钮之间设置有弹簧。
本实用新型采用这种结构,位于绝缘座套和旋钮之间设置的弹簧,通过对绝缘座套的支顶力,而使得电极头的安装更加稳定。当需要对电极进行清理时,打开压盖,通过中心孔操作旋钮使之旋退,从而带动电极轴转动,而将电极头自中心孔内取出并进行清理。清理完毕,仍通过中心孔安装至原位置,即完成一次清理工作。由于可方便地解决电极清洗问题,因而可有效保证电磁流量计的测量精度。
 
附图说明
图1是本实用新型的结构示意图。
云顶集团3118acm官网
具体实施方式
下面结合结构示意图对本实用新型进行进一步的说明
图1所示,可拆卸电极的电磁流量计由外壳9及安装于外壳内的测量管7、及电极组件组成,在测量管内侧安装有测量管衬里8,以隔绝测量介质和测量管的接触。在外壳9上设有凸台,所述凸台上开有中心孔,并通过紧固螺栓固定有压盖10。电极组件由电极轴以及安装于电极轴上的电极头1、电极座6和绝缘电极座套2组成,在所述电极轴的外端部设置有旋钮5,所述电极轴上螺接有压紧螺母3和绝缘座套11,在绝缘座套11与所述旋钮之间的电极轴上套接有弹簧4,以增加电极头1的稳固性。本实用新型不仅方便拆卸,而且正常使用时,电极头也能很牢固地定位,可有效满足测量需求。
 

上一条:电磁流量计用于工业硫酸计量
下一条:液位报警器在密闭计量罐上的应用


客户服务热线
15312307860

联系我们