固定电话:

0517-86881563

手机热线:

153-1230-7860

当前位置:首页 >> 新闻动态
一种钻井泥浆储罐液位报警装置
油田钻井作业的过程中对于井漏、井涌等地层的情况反应还处于一个比较原始的阶段一主要靠人工来坐岗记录,其准确性差,实时性不足,在井漏或井涌时,不能及时做出警告而采取措施,严重威胁钻井的顺利进行。
 
发明内容
本实用新型的目的就是针对现有技术存在的缺陷,提供一种钻井泥浆储罐液位报警装置。
其技术方案是:钻井泥浆储罐液位报警装置,包括泥浆储罐、传感器、报警器和太阳能电池,所述泥浆储罐一側的内壁上,自下而上顺次设有第 一传感器、第 二传感器和第 三传感器,所述报警器包括蓄电池、稳压电路、中央处理器、第 一转换电路、第 二转换电路、第 三转换电路、隔离电路、网络接口、放大电路和喇叭;所述第 一传感器通过第 一转换电路与中央处理器的第 一输入端相连接,第 二传感器通过第 二转换电路与中央处理器的第 二输入端相连接,第 三传感器通过第 三转换电路与中央处理器的第 三输入端相连接,中央处理器的一输出端通过隔离电路与网络接口相连接,中央处理器的另一输出端通过放大电路与喇叭相连接,所述太阳能电池与蓄电池相连接,蓄电池通过稳压电路与中央处理器、第 一转换电路、第二转换电路、第 三转换电路、隔离电路及放大电路相连接。
其中,所述第 一传感器、第 二传感器及第三传感器均为压电陶瓷片。所述中央处理器为单片机电路或可编程控制器。
本实用新型具有设计合理、结构简单、易于制造、使用方便等优点;工作人员即可坐在办公室内观察泥浆储罐液位,并能实现全天候自动监控工作;当泥浆液位过高或过低时,中央处理器即会通过喇叭报警,指挥中心还能通过网络对现场喊话,方便指挥,极大的减轻工作人员的劳动强度,具有很好的推广使用价值。
 
附图说明
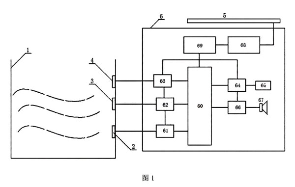
图1是本钻井泥浆储罐液位报警装置实施例的结构示意图。
云顶集团3118acm官网
具体实施方式
参照图1,一种钻井泥浆储罐液位报警装置,包括泥浆储罐1、传感器2-4、报警器6和太阳能电池5,所述泥浆储罐1一側的内壁上,自下而上顺次设有第 一传感器2、第 二传感器3和第 三传感器4,所述报警器6包括蓄电池68、稳压电路69、中央处理器60、第 一转换电路61、第 二转换电路62、第 三转换电路63、隔离电路64、网络接口65、放大电路66和喇叭67;所述第 一传感器2通过第 一转换电路61与中央处理器60的第 一输入端相连接,第传感器3通过第 二转换电路62与中央处理器60的第 二输入端相连接,第 三传感器4通过第 三转换电路63与中央处理器60的第 三输入端相连接,中央处理器60的一输出端通过隔离电路64与网络接口65相连接,中央处理器60的另一输出端通过放大电路66与喇叭67相连接,所述太阳能电池5与蓄电池68相连接,蓄电池68通过稳压电路69与中央处理器60、第 一转換电路61、第 二转换电路62、第 三转换电路63、隔离电路64及放大电路65相连接。其中,所述第 一传感器2、第 二传感器3及第 三传感器4均为压电陶瓷片。所述中央处理器60为单片机电路或可编程控制器。
运行时,报警器6及太阳能电池5安装在泥浆储罐顶部,将网络接口65与指挥中心电脑通过网络连接,工作人员即可坐在办公室内观察泥浆储罐液位,并能实现全天候自动监控工作;泥浆液位到达第 一传感器2、第 二传感器3或第三传感器4时,其液位信号就会传送给中央处理器60,中央处理器60通过网络接口65汇报给指挥中心,当液位过高或过低时,中央处理器60即会通过喇叭67报警,指挥中心还能通过网络对现场喊话,方便指挥,极大的减轻工作人员的劳动强度,具有很好的推广使用价值。
 

上一条:靶式流量计的应用特点及工作原理
下一条:油罐物位应用雷达液位计的测量


客户服务热线
15312307860

联系我们