背景技术
旋进旋涡流量计具有功能强、流量范围宽、操作维修简单,安装使用方便等优点,主要技术指标达到国外同类产品**水平。**应用于石油、化工、电力、治金煤炭等行业各种气体计量,传统的旋进旋涡流量计是直接接在管道上的,对于壳体和流量显示器没有保护措施,不能有效的防止在地震的时候对壳体和流量显示器进行保护,而且安装也较为复杂。为此我们设计了一款新型的抗震型旋进旋涡流量计,解决了传统的抗震型旋进旋涡流量计使用不便的问题。
实用新型内容
本实用新型的目的在于提供抗震型旋进旋涡流量计,以解决现有的技术缺陷和不能达到的技术要求。
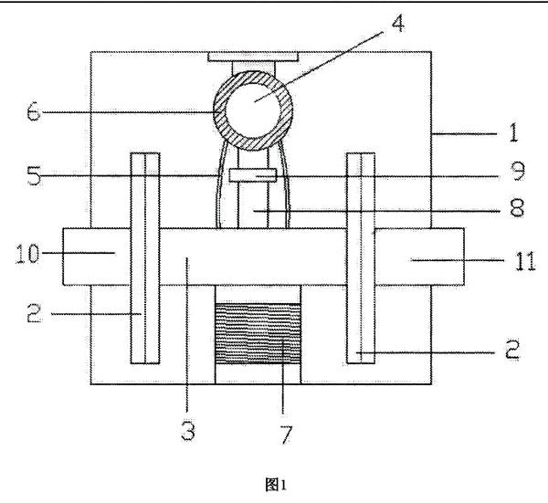
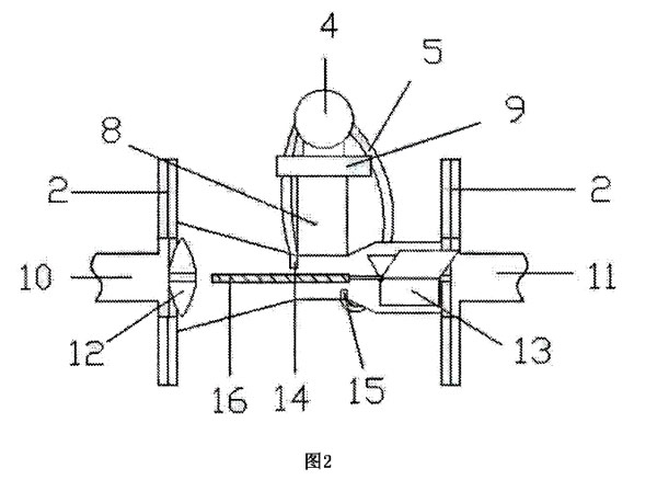
为实现上述目的,本实用新型提供如下技术方案:抗震型旋进旋涡流量计,包括箱体、连接头、壳体和流量显示器,所述连接头、壳体和流量显示器设在箱体内部,壳体底部设有弹簧,壳体右侧设有出气ロ,左側设有进气ロ,进气口和出气口通过连接头连在一起,所述壳体内部包括漩涡发生体、除旋整流器、温度传感器、压力传感器和涡核,漩渴发生体设在壳体左侧,除旋整流器设在壳体右侧,漩涡发生体和除旋整流器各通过固定座与壳体连接,除旋整流器左侧设有涡核,温度传感器设在壳体内部顶部,压力传感器设在壳体内部底部,壳体上部设有连接杆,连接杆与壳体固定连接,连接杆上部设有旋进螺栓,旋进螺栓上部设有流量显示器,流量显示器通过固定座固定在旋进螺栓上,流量显示器外侧设有管道和防护罩。
所述弹簧上下各设有固定板,下固定板与箱体固定连接,上固定板固定连接在壳体上。
所述旋进螺栓固定在连接杆,流量显示器下部设有固定杆,固定杆下部设有螺纹,流量显示器通过旋进螺栓与连接杆固定连接。
所述涡核和除旋整流器通过轴承连接
所述管道一端连接流量显示器,另一端连接壳体。
与现有技术相比,本实用新型的有益效果如下:
1.与传统的抗震型旋进旋涡流量计相比,改良后的抗震型旋进旋涡流量计,通过在壳体底部设有的弹簧,使得在发生地震的时候,可以保护壳体内部的精密仪器,不至于被震动破坏。
2.与传统的抗震型旋进旋涡流量计相比,改良后的抗震型旋进旋涡流量计在流量显示器外侧包裏有保护罩,保护罩内部设有海绵及泡沫,用来保护流量显示器,流量显示器内部有很多的精密电子元件,以免在发生地震的时候发生损坏。
附图说明
图1为本实用新型抗震型旋进旋涡流量计结构示意图

图2为本实用新型抗震型旋进旋涡流量计内部结构示意图

图中:1-箱体,2-连接头,3-売体,4-流量显示器,5-管道,6-防护罩,7一弹簧,8-连接杆,9-旋进螺栓,10进气口,11-出气口,12-漩涡发生体,13-除旋整流器,14-温度传感器,15-压力传感器,16-涡核。
具体实施方式
下面将结合本实用新型实施例中的附图,对本实用新型实施例中的技术方案进行清楚、完整地描述。基于本实用新型中的实施例,本领域普通技术人员在没有做出创造性劳动前提下所获得的所有其他实施例,都属于本实用新型保护的范围请参阅图1-2,本实用新型提供一种技术方案:抗震型旋进旋涡流量计,包括箱体1、连接头2、壳体3和流量显示器4,所述连接头2、壳体3和流量显示器4设在箱体1内部,壳体3底部设有弹簧7,売体3右侧设有出气口11,左側设有进气口10,进气口10和出气口11通过连接头2连在一起,所述壳体3内部包括漩涡发生体12、除旋整流器13、温度传感器14、压力传感器15和涡核16,漩渴发生体12设在売体3左側,除旋整流器13设在売体3右侧,漩涡发生体12和除旋整流器13各通过固定座与壳体3连接,除旋整流器13左侧设有渴核16,温度传感器14设在壳体3内部顶部,压カ传感器15设在売体3内部底部,売体3上部设有连接杆8,连接杆8与壳体3固定连接,连接杆8上部设有旋进螺栓9,旋进螺栓9上部设有流量显示器4,流量显示器4通过固定座固定在旋进螺栓9上,流量显示器4外侧设有管道5和防护罩6弹簧7上下各设有固定板,下固定板与箱体1固定连接,上固定板固定连接在壳体3上,在震动的时候,弹簧7能有效的将震动波过滤掉,较小对壳体3的损伤。旋进螺栓9固定在连接杆8,流量显示器4下部设有固定杆,固定杆下部设有螺纹,流量显示器4通过旋进螺栓9与连接杆8固定连接,可以方便的对流量显示器4进行更换和对売体3内零部件进行检査和维修,大大的方便了安装人员和维修人员。除旋整流器13和涡核16通过轴承连接,除旋整流器13转动的时候带动涡核16旋转,使得气体充分混合以便于检测管道5一端连接流量显示器4,另一端连接売体3,温度传感器14和压力传感器15分别将收集到的信息通过管道5内的导线传递到流量显示器4内储存,以便于**人员检查。
本实用新型抗震型旋进旋涡流量计将进气口10和出气ロ11分别通过连接头2与壳売体3连接,将流量显示器4通过旋进螺栓9连接在连接杆8上,再将弹簧7安装在壳体3底部,将连接杆8包裏在流量显示器4外侧,以达到保护旋进旋涡流量计的目的,箱体1作为旋进旋涡流量计第 一道保护措施,连接杆8和弹簧7作为旋进旋涡流量计第 二道保护措施,两者相互配合使用共同保护旋进旋涡流量计。
上一条:
一种用于电磁流量计电极的保护套
下一条:
V型内锥式流量计的工作原理及特点