固定电话:

0517-86881563

手机热线:

153-1230-7860

当前位置:首页 >> 新闻动态
金属转子流量计有哪些组合结构
金属管浮子流量计采用可变面积式测量原理,它利用流动的能量来检测,流动不需要外部动力。浮子流量计的测量本体由一根自下向上扩大的垂直锥管和一只可以沿着锥管的轴向自由移动的浮子组成。当锥管内的浮子上下移动时,转换器中的经过精密充磁的磁耦合系统带动指针转动,然后通过刻度盘和指针读出相应的流量值;因此浮子于锥管之间的环隙面积随浮子的移动而变化,通过测量浮子在锥管中的高度就可以推算出管道内通过的流量。现有的金属管浮子流量计的组合结构包括金属管浮子流量计和位移传感装置,现有金属转子流量计的组合结构中的位移传感器通常采用差动变压器式传感器和电容式角位移传感器:但是使用这两种位移传感器检测浮子位移都无法实现流量计的转换器全电子化、小型化以及在此基础上的智能化。其中差动变压器式传感器由于其原理和结构的限制,差动变压器构成的位移检测系统很难达到防爆要求,这对应用于现场的金属管转子流量计来说无疑限制了其在易燃易爆等危险场所的使用;虽然电容式角位移传感器构成的检测系统相对而言结构简单、调整相对方便,且也可以做成本安型或隔爆型防爆结构,使其流量计的使用范围有所扩大,但上述两种位移传感器要获得与流量对应的位移信号,都需要相应的非线性修正和复杂的机械结构来实现,这会造成转换器传动环节多,结构复杂,存在摩擦力,使回差增大,从而降低了金属转子流量计的测量精度。
 
实用新型內容
本实用新型解决的技术问题是:提供一种结构简单的金属转子流量计的组合结构,能够提高金属转子流量计的测量精度。
本实用新型的技术方案是:一种金属转子流量计的组合结构,包括测量系统和位移传感装置,所述测量系统包括锥管和位于锥管中的磁性浮子,其特在于,所述位移传感装置包括指针组件、刻度盐和转换器,其中,所述指针组件包括转动轴、感应磁钢和指针,所述感应磁钢固定在转动轴的一端,该感应磁钢靠近所述磁性浮子,且感应磁钢的磁场方向与磁性浮子的磁场方向相反,所述指针固定在转动轴的另一端:所述转换器包括角位移磁钢、线性角位移传感器、集成电路板和液晶显示器,所述角位移磁钢固定在所述转动轴上,所述线性角位移传感器固定在所述集成电路板上,且所述线性角位移传感器靠近所述角位移磁钢,集成电路板与液晶显示器之间通过数据线连接。
所述角位移磁钢呈圆环状。
所述液晶显示器固定在所述刻度盘上
本实用新型的有益效果是:本实用新型由于简化了转换器的结构,使得结构更加简单,同时采用线性角位移传感器作为磁性浮子位移检測元件,去掉了现有技术中的复杂的非线性修正和机械结构,从而提高了测量精度。
 
附图说明
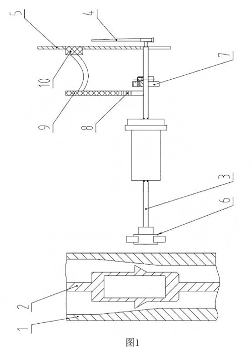
图1为本实用新型的结构示意图
云顶集团3118acm官网
图2为本实用新型中的角位移磁钢与线性角位移传感器的结构示意图。
云顶集团3118acm官网
具体实施方式
下面结合附图和实施例对本实用新型作进一步说明
参见图1、图2,一种金属转子流量计的组合结构,包括测量系统和位移传感装置,测量系统包括锥管1和位于锥管1中的磁性浮子2,位移传感装置包括指针组件、刻度盘5和转換器,其中,指针组件包括转动轴3、感应磁钢6和指针4,感应磁钢6固定在转动轴3的一端,该感应磁钢6靠近所述磁性浮子2,且感应磁钢6的磁场方向与磁性浮子2的磁场方向相反,指针4固定在转动轴3的另一端,其中,磁性浮子2的上端为N极,磁性浮子2的下端为S极,感应磁钢6的上端为S极,感应磁钢6的下端为N极。转换器包括角位移磁钢7、线性角位移传感器8、集成电路板9和液晶显示器10,液晶显示器10固定安装在刻度盘5上,角位移磁钢7呈圆环状,角位移磁钢7固定在转动轴3上,线性角位移传感器8固定在集成电路板9上,线性角位移传感器8靠近角位移磁钢7,集成电路板9与液晶显示器10之间通过数据线连接。
本实用新型的工作原理是:
当被测流体自下而上流过锥管时,磁性浮子产生位移,通过线性角位移传感器的磁力线角度就会发生变化,从而使线性角位移传感器输出相应电压,该输出电压输入到集成电路板进行处理后,可输出与流量对应的标准电流信号,并通过液晶显示器显示出测量值。采用线性角位移传感器测量技术的设计,去掉了现有技术中的复杂机械结构,提高了测量精度。
 

上一条:几种常见的涡街流量计类型
下一条:气体涡轮流量计具有哪些测量优势?


客户服务热线
15312307860

联系我们