固定电话:

0517-86881563

手机热线:

153-1230-7860

当前位置:首页 >> 新闻动态
一种陀螺式电极智能电磁流量计
技术领域:
本实用新型涉及一种陀螺式电极智能电磁流量计,属于测量管道内液体流量的智能电磁流量计技术领域。
 
背景技术:
目前,智能电磁流量计在液体的流量测量中得到**应用,一般组成包括主机、传感器、电极,电极布置在传感器筒体内,常用的智能电磁流量计电极的形状主要有方形和圆形的等,在使用中由于密封性能不好,很容易出现向筒体内漏水等现象,同时现场使用中经常遇到管道振动等情况,此时电极容易松动,造成漏水、信号差、无法使用等情况;而且一旦出现上述情况,维护起来很困难,只能是停产维修。

实用新型内容:
本实用新型目的是提供一种陀螺式电极智能电磁流量计,防水性能好,电极安装牢固,解决背景技术中存在的上述问题。
本实用新型的技术方案是:陀螺式电极智能电磁流量计包含传感器筒体、主机、电极,主机设置在传感器筒体上,传感器为筒状结构,电极为陀螺式结构,并有电极杆,电极杆上设有螺纹,电极布置在传感器筒体内,电极杆与传感器筒体之间通过螺纹连接。
所说的电极包含电极杆、电极托台、接液面,电极托台与接液面一起构成陀螺结构,电极托台与电极杆连为一体:接液面是电极与被测液体接触面。
电极杆上的螺纹可以旋进传感器筒体内的内衬材料里,电极杆的长度尽量长一些。
电极托台的形状为锥型,电极托台外缘与电极杆中心线成45°角,与接液面一起构成陀螺结构。
电极托台上设有若干道防水线,设置防水线是为了让内衬材料挤进其中,能更好的起到密封作用,防止通过电极向筒体内漏水造成信号差、无法正常使用等情况。
本实用新型的有益效果是:陀螺式电极专门为了防止漏水而设计的,电极本身具有一个长的电极杆,电极杆上的螺纹可以旋进传感器筒体内的内衬材料里,一是很牢固的固定电极,使电极不会因为管道的振动而松动;二是使电极杆和内衬可以充分的接触防止电极处漏水;电极托台的形状为锥型,为了使电极和内衬充分的接触,从而防止电极漏水;电极托台上设有若干道防水线,设置防水线是为了让内衬材料挤进其中,能更好的起到密封作用,防止通过电极向筒体内漏水造成信号差、无法正常使用等情况。
 
附图说明:
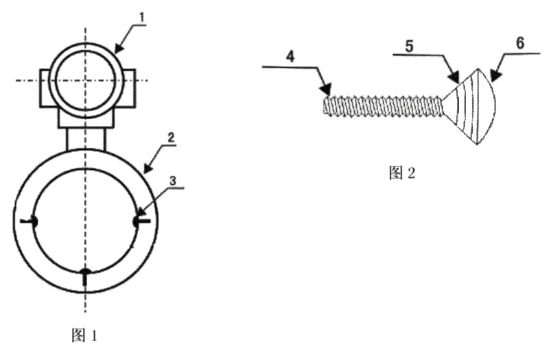
附图1是本实用新型实施例的示意图;
云顶集团3118acm官网
附图2是本实用新型的电极结构示意图;
图中:主机1、传感器筒体2、电极3、电极杆4、电极托台5接液面6。
 
具体实施方式:
以下结合附图,通过实施例对本实用新型作进一步说明。
在实施例中,陀螺式电极智能电磁流量计包含传感器筒体2、主机1、电极3,主机设置在传感器筒体上,传感器为筒状结构,电极为陀螺式结构,并有电极杆4电极杆上设有螺纹,电极布置在传感器筒体内,电极杆与传感器筒体之间通过螺纹连接。电极包含电极杄4、电极托台5、接液面6,电极托台与接液面一起构成陀螺结构,电极托台与电极杆连为一体;接液面是电极与被测液体接触面。电极杆上的螺纹旋进传感器筒体内的内衬材料里,电极杆的长度尽量长一些。电极托台的形状为锥型,电极托台外缘与电极杆中心线成45°角,与接液面一起构成陀螺结构。
实施例中,电极杆上设有长18mm的螺纹,为了增加密封性,电极托台上有三道防水线。具体安装方式:先将电极杆4从传感器筒体2的内侧直接旋进内衬里,当筒体外侧露出电极杆4后,将电极杆4上装一个0型胶圈,上面再装一小块绝缘板,加好绝缘板后,将电极杆4上接好线以供使用,zui后上面用螺丝校紧,直到接液面6的边缘和内衬很好的结合为止。将电极3安装好以后,再将线圈以固定的方式安装好,将线引出与主机1接好,zui后将主机固定。

上一条:孔板结污对煤气流量计量的影响
下一条:一种电磁流量计的水垢清洗装置


客户服务热线
15312307860

联系我们