云顶集团3118acm官网(中国)有限公司
固定电话:
0517-86881563
手机热线:
153-1230-7860
首页
关于我们
产品博览
新闻动态
典型案例
行业新闻
联系我们
当前位置:
首页
>>
新闻动态
流量仪表系列
电磁流量计
涡街流量计
涡轮流量计
超声波流量计
孔板流量计
转子流量计
质量流量计
旋进旋涡流量计
巴类流量计
液体流量计
油流量计
酸流量计
气体流量计
其它流量计
物位仪表系列
压力变送器
差压变送器
液位变送器
温度变送器
变送器仪表系列
压力变送器
差压变送器
液位变送器
温度变送器
一种电磁流量计的水垢清洗装置
电磁流量计结构简单、可靠,无可动部件,工作寿命长,无截流阻流部件,不存在压力损失和流体堵塞现象,无机械惯性,响应快速,稳定性好,可应用于自动检测、调节和程控系统,测量精度不受被测介质的种类及其温度、黏度、密度、压力等物理量参数的影响,电磁流量计是根据法拉第电磁感应定律进行流量测量的流量计。电磁流量计的优点是压损极小,可测流量范围大,zui大流量与zui小流量的比值一般为20:1以上,适用的工业管径范围宽,zui大可达3m,输出信号和被测流量成线性,精确度较高,可测量电导率≥5μs/cm的酸、碱、盐溶液、水、污水、腐蚀性液体以及泥浆、矿浆、纸浆等的流体流量。针对现有技术存在以下问题:
1、电磁流量计在长时间使用之后,其内部容易附着有大量的水垢,在对电磁流量计进行清洗的过程中,由于电磁流量计的两端呈圆柱形,导致不便于对电磁流量计进行固定,对其进行清洗;
2、在电磁流量计进行清洗的过程中,不便于对清洗过程中的电磁流量计内部进行喷水,从而导致清洗下来的水垢不便于进行排出。
本发明提供一种电磁流量计用水垢清洗装置,其中一种目的是为了具备能够便于对电磁流量计进行固定,解决不便于对电磁流量计进行固定的问题;其中另一种目的是为了解决不便于对清洗过程中的电磁流量计内部进行喷水的问题,以达到能够对清洗过程中的电磁流量计内部进行喷水,方便清洗后的水垢进行排岀的效果。
为解决上述技术问题,本发明所采用的技术方案是:
一种
电磁流量计
用水垢清洗装置,包括清洗台和电磁流量计本体,所述清洗台的顶部固定安装有清洗座,所述清洗座的顶部设置有电磁流量计本体,所述清洗台的顶部且位于清洗座的左侧固定安装有储水箱,所述储水箱的顶部固定安装有固定板。所述清洗台的顶部且位于清洗座的右侧面固定安装有增高板,所述增高板的顶部固定安装有防护盖,所述防护盖左侧面开设有开口。
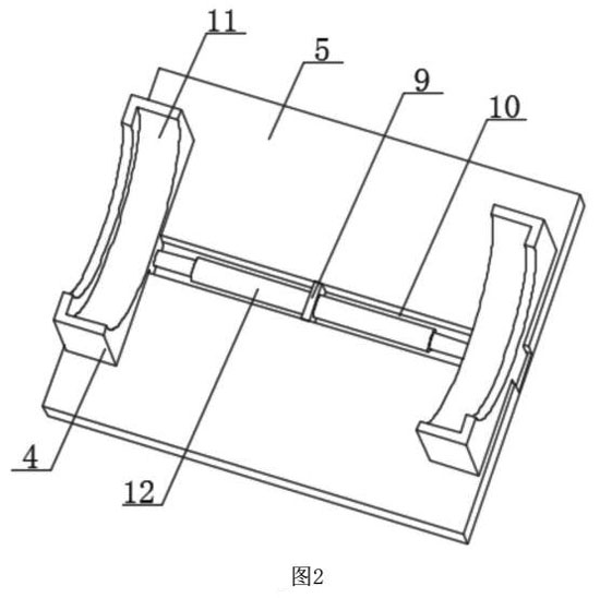
本技术方案的进一步改进在于:所述清洗座的顶部开设有放置槽,所述放置槽的内壁中部固定安装有固定分隔板,所述固定分隔板的底部与放置槽的内壁底部相贴合,所述固定分隔板的外壁左右两侧面固定连接有电动伸缩杆,每个所述电动伸缩杆的伸缩端固定连接有支撑板,每个所述支撑板的顶部开设有定位弧形槽,所述电磁流量计本体外壁两端与贯穿槽的内壁相贴合。
采用上述技术方案,该方案中的电动伸缩杆能够对支撑板的位置进行调整,进而方便支撑板对电磁流量计本体进行夹持,同时通过定位弧形槽对电磁流量计本体进行固定,方便对电磁流量计本体进行清洗。
本技术方案的进一步改进在于:所述固定板的顶部开设有移动槽,所述移动槽的内壁两侧均开设有滑槽,所述移动槽的内壁滑动连接有水泵。
采用上述技术方案,该方案中的水泵能够在移动槽的内壁进行移动,从而能够对水泵的位置进行调整。
本技术方案的进一步改进在于:所述水泵的外壁两侧均固定连接有导向滑块,每个所述导向滑块的外壁均与滑槽的内壁滑动连接。
采用上述技术方案,该方案中的导向滑块能够避免水泵在移动的过程中发生偏移,同时便于水泵进行移动。
本技术方案的进一步改进在于:所述水泵的右端固定安装有多孔清洗管,所述水泵的左端设置有弹性输水管,所述弹性输水管的一端与水泵的外壁嵌固连接,所述弹性输水管的另一端与储水箱的顶部嵌固连接。
采用上述技术方案,该方案中的水泵能够对多孔清洗管内部进行输送清洗液,同时多孔清洗管能够伸入到电磁流量计本体的内部,从而能够在电磁流量计本体在清洗时保持湿润。
本技术方案的进一步改进在于:所述增高板的顶部开设有凹槽,所述凹槽的内壁固定连接有固定杆,所述固定杆的外壁滑动连接有安装座,所述安装座的底部与凹槽的内壁底部滑动连接。
采用上述技术方案,该方案中的安装座能够通过固定杆进行稳定地滑动,从而方便安装座进行移动。
本技术方案的进一步改进在于:所述安装座的顶部固定安装有驱动电机,所述驱动电机的驱动端固定连接有U型清洗架,所述U型清洗架的外壁固定安装有清理刷,所述清理刷的外壁与电磁流量计本体的内壁相贴合,所述U型清洗架的内壁固定安装有若干个稳固环。
采用上述技术方案,该方案中的稳固环能够对U型清洗架进行加固,从而使U型清洗架在进行转动的过程中,能够避免U型清洗架在转动的过程中岀现变形,同时清理刷能够对电磁流量计本体的内壁进行清洗。
本技术方案的进一步改进在于:所述凹槽的内壁开设有贯穿槽,所述安装座的外壁前后两侧面固定连接有推动杆,所述推动杆的外壁与贯穿槽的内壁滑动连接。
采用上述技术方案,该方案中的推动杆能够用手来进行推动,从而能够使安装座进行左右移动,进而方便对安装座的位置进行调整。
由于采用了上述技术方案,本发明相对现有技术来说,取得的技术进步是:
1、本发明提供一种电磁流量计用水垢清洗装置,通过设置的支撑板、定位弧形槽、电动伸缩杆和固定分隔板之间的配合,通过电动伸缩杆能够对支撑板的位置进行调整,从而能够方便电磁流量计本体进行放置或拆卸,同时定位弧形槽能够使
电磁流量计
本体固定得更快捷,同时能够定位弧形槽能够对固定的电磁流量计提供支撑,使电磁流量计本体方便进行固定后清洗。
2、本发明提供一种电磁流量计用水垢清洗装置,通过设置的储水箱、移动槽、滑槽、导向滑块、水泵、多孔清洗管和弹性输水管之间的配合,能够通过导向滑块便于水泵进行滑动,从而使水泵和多孔清洗管之间进行同步移动,方便多孔清洗管伸入到电磁流量计本体的内部,从而对电磁流量计本体的内部进行喷洒,方便对电磁流量计本体内部的水垢进行掉落。
3、本发明提供一种电磁流量计用水垢清洗装置,通过设置的防护盖、驱动电机、U型清洗架、稳固环、推动杆、固定杆、清理刷和安装座之间的配合,通过用手移动推动杆,使安装座进行移动,进而能够使U型清洗架在电磁流量计本体的内部进行来回移动,从而通过驱动电机带动U型清洗架进行转动,使U型清洗架上的清理刷对电磁流量计本体内部的水垢进行清洗,而稳固环能够避免U型清洗架在清洗过程中岀现损坏。
附图说明
图1为本发明的结构示意图;
图2为本发明支撑板与清洗座的结构连接示意图;
图3为本发明固定板的结构剖视图;
图4为本发明增高板与防护盖的结构剖视图;
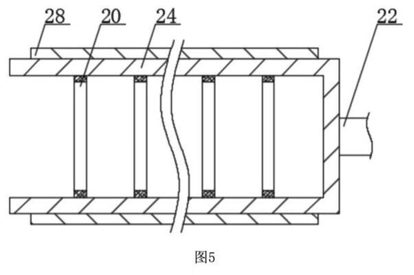
图5为本发明稳固环与U型清洗架的结构连接示意图。
图中:1、储水箱;2、固定板;3、清洗台;4、支撑板;5、清洗座:6、电磁流量计本体;7、增高板:8、贯穿槽:9、固定分隔板;10、放置槽;11、定位弧形槽;12、电动伸缩杆;13、移动槽;14、滑槽:15、弹性输水管:16、导向滑块:17、多孔清洗管;18、水泵;19、开口;20、稳固环;21、防护盖;22、驱动电机;23、安装座;24、U型清洗架;25、推动杆;26、固定杆;27、凹槽:28清理刷。
具体实施方式
下面结合实施例对本发明做进一步详细说明:
实施例1
如图1-5所示,本发明提供了一种电磁流量计用水垢清洗装置,包括清洗台3和电磁流量计本体6,清洗台3的顶部固定安装有清洗座5,清洗座5的顶部设置有电磁流量计本体6,清洗台3的顶部且位于清洗座5的左侧固定安装有储水箱1,储水箱1的顶部固定安装有固定板2,清洗台3的顶部且位于清洗座5的右侧面固定安装有增高板7,增高板7的顶部固定安装有防护盖21,防护盖21左侧面开设有开口19。
如图1-5所示,优选的,清洗座5的顶部开设有放置槽10,放置槽10的内壁中部固定安装有固定分隔板9,固定分隔板9的底部与放置槽10的内壁底部相贴合,固定分隔板9外壁左右两侧面固定连接有电动伸缩杆12,每个电动伸缩杆12的伸缩端固定连接有支撑板4,每个支撑板4的顶部开设有定位弧形槽11,电磁流量计本体6外壁两端与贯穿槽8的内壁相贴合,电动伸缩杆12能够对支撑板4的位置进行调整,进而方便支撑板4对电磁流量计本体6进行夹持,同时通过定位弧形槽11对电磁流量计本体6进行固定,方便对电磁流量计本体6进行清洗。
实施例2
如图1-5所示,在实施例1的基础上,本发明提供一种技术方案:优选的,固定板2的顶部开设有移动槽13,移动槽13的内壁两侧均开设有滑槽14,移动槽13的内壁滑动连接有水泵18,水泵能够在移动槽的内壁进行移动,从而能够对水泵的位置进行调整,水泵18的外壁两侧均固定连接有导向滑块16,每个导向滑块16的外壁均与滑槽14的内壁滑动连接,导向滑块16能够避免水泵18在移动的过程中发生偏移,同时便于水泵18进行移动,水泵18的右端固定安装有多孔清洗管17,水泵18的左端设置有弹性输水管15,弹性输水管15的一端与水泵18外壁嵌固连接,弹性输水管15的另一端与储水箱1的顶部嵌固连接,水泵18能够对多孔清洗管17内部进行输送清洗液,同时多孔清洗管17能够伸入到电磁流量计本体6的内部,从而能够在电磁流量计本体6在清洗时保持湿润,同时也便于电磁流量计本体6内部的水垢进行流出。
实施例3
如图1-5所示,在实施例1的基础上,本发明提供一种技术方案:优选的,增高板7的顶部开设有凹槽27,凹槽27的内壁固定连接有固定杆26,固定杆26的外壁滑动连接有安装座23,安装座23的底部与凹槽27的内壁底部滑动连接,安装座23能够通过固定杆26进行稳定地滑动,从而方便安装座23进行移动,凹槽27的内壁开设有贯穿槽8,安装座23的外壁前后两侧面固定连接有推动杆25,推动杆25外壁与贯穿槽8的内壁滑动连接,推动杆25能够用手来进行推动,从而能够使安装座23进行左右移动,进而方便对安装座23的位置进行调整,安装座23的顶部固定安装有驱动电机22,驱动电机22的驱动端固定连接有U型清洗架24,U型清洗架24的外壁固定安装有清理刷28,清理刷28的外壁与电磁流量计本体6的内壁相贴合,U型清洗架24的内壁固定安装有若干个稳固环20,通过启动驱动电机22带动U型清洗架24进行转动,使U型清洗架24上的清理刷28对电磁流量计本体6内部的水垢进行清洗,稳固环20能够对U型清洗架24进行加固,从而使U型清洗架24在进行转动的过程中,能够避免U型清洗架24在转动的过程中出现变形。
下面具体说一下该电磁流量计用水垢清洗装置的工作原理。
如图1-5所示,在对电磁流量计本体6进行清洗时,通过电动伸缩杆12推动支撑板4向外移动,使电磁流量计本体6放置在定位弧形槽11上,使电动伸缩杆12对支撑板4进行收缩,从而更加快捷的对电磁流量计本体6进行固定,同时定位弧形槽1l也能对电磁流量计本体6提供支撑,使电磁流量计本体6固定后进行清洗,通过导向滑块16方便对水泵18进行滑动,使水泵18上的多孔清洗管17能够移动到电磁流量计本体6的内部,对电磁流量计本体6内部进行喷水,使电磁流量计本体6内部的水垢进行掉落,而弹性输水管15能够便于水泵18在移动后进行供水,通过用手移动推动杆25,使安装座23进行移动,使U型清洗架24在电磁流量计本体6的内部进行来回移动,便于对电磁流量计本体6内部清洗得更加彻底,从而通过启动驱动电机22带动U型清洗架24进行转动,使U型清洗架24上的清理刷28对电磁流量计本体6内部的水垢进行清洗,而稳固环20能够避免U型清洗架24在清洗过程中出现损坏。
上一条:
一种陀螺式电极智能电磁流量计
下一条:
智能气体涡轮流量计测量蒸汽时出现误差该怎么
客户服务热线
15312307860
联系我们