电磁流量计传感器接线盒,尤其涉及一种分体式电磁流量计传感器接线盒,属于测量设备技术领域。现有的分体式电磁流量计传感器接线盒大多采用**进线,接线时需要将接线盒整体拆下才可以接线,使用过程中由于操作人员技术问题往往会造成接线盒与传感器、进线口密封不良,防水性能下降,并引起接线端子部位绝缘下降,设备无法正常测量
实用新型内容
本电磁流量计传感器接线盒克服现有技术的缺点,提供一种结构简单、密封性良好、适用性强、方便安装、拆卸的分体式电磁流量计传感器接线盒
本实用型分体式电磁流量计传感器接线盒,包括壳体和分体盖,壳体上端连接分体盖,还包括端子排,端子排的两端设有螺孔,与螺孔配合设有螺钉,端子排通过螺钉穿过螺孔固定在壳体的安装座上,端子排与壳体安装座的连接处设有安装座密封圈,壳体的侧面设有螺纹孔,与螺纹孔配合装有格兰头,格兰头上设有进线孔,电缆线穿过进线孔连接端子排。这样,保证电缆与管道轴线方向一致,不会造成外部的液体流入壳体内。
本新型特点
安装座密封圈采用“0”型密封圈。使设备的密封效果更好。
分体盖通过“0”型密封圈与壳体密封连接。
壳体采用圆筒形结构,壳体的下端通过螺钉固定在流量传感器上端。适用
于各种传感器,并且安装方便,拆卸简易。
壳体与流量传感器的连接处设有橡胶密封垫密封连接,
有益效果是:本实用新型结构简单、密封性好、适用性强且便于安装
拆卸,使用时电缆与管道轴线方向一致,从而不会造成外部的液体流入壳体内
附图说明
图1为本实用新型结构的主视图

图2为本实用新型结构的左视图

图3为本实用新型的内部结构示意图

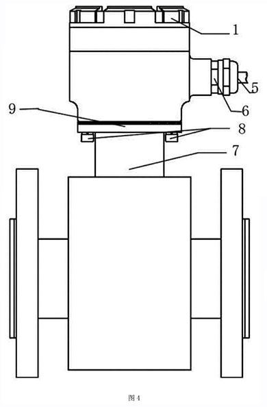
图4为本实用新型使用结构图

分体式电磁流量计传感器接线盒,如图1、图2和图3所示,包括壳体3和分体盖1,还包括端子排7,壳体3上端连接分体盖1,端子排7的两端设有螺孔,与螺孔配合设有螺钉,端子排7通过螺钉穿过螺孔固定在壳体3的安装座上,壳体3的侧面设有螺纹孔4,与螺纹孔4配合装有格兰头6,格兰头上设有进线孔,电缆线5穿过进线孔连接端子排7。
安装座密封圈2采用“0”型密封圈。
分体盖1通过“0”型密封圈与壳体3密封连接,分体盖1的上端设有不规则的凹槽,便于拆卸。
壳体3采用圆筒形结构,壳体3的下端通过螺钉固定在流量传感器上端。
壳体3与流量传感器的连接处设有橡胶密封垫密封连接
本实施例如图4所示,分体接线盒用4只M6的螺钉8将壳体3与固定在流量传感器7上端,壳体3与传感器7之间采用橡胶密封垫9密封。端子排7用两个M4的螺钉固定在壳体内,接线端子通过连接电缆5,穿过安装在壳体上的格兰头6连接到变送器。分体盖l通过螺纹拧紧在壳体3的上端,分体盖1与壳体3的密封采用O型圈密封。使用时电缆与管道轴线方向一致,管道为垂直方向时,电缆出线方向朝下,从而不会造成外部的液体流
入壳内。本实用型的优点在于,结构简单、密封性好、适用性强且便于安装拆卸。
上一条:
电磁流量计与井径一体化仪表设计
下一条:
一种新型的遥测智能污水流量计的实现